Dün akşam saatlerinde gerçekleşen Unpacked 5 etkinliği ile tanıtımını gerçekleştirdiği Galaxy S5 için Samsung’a HTC’den büyük gönderme geldi. Gönderdiği twit ile Samsung Galaxy S5 alacak olanlara mesaj gönderen HTC, “Sakın almayın, pişman olursunuz” dedi.
Bir süredir tabletlerinde Windows işletim sistemi kullanan Dell, yeni Venue serisi tabletlerinde Android ile kucaklaştı. Android 4.2 versiyonu ile gelen Venue tabletler, 4.3’e de güncellenebiliyor.
Hafıza katı ve USB bellek konusunda lider konumda sayabileceğimiz Kingston, 16, 32 ve 64 Gb seçenekleri ile U3 hız sınıfında yeni SD kartlarını duyurdu. Kingston’ın ürün yelpazesine eklediği bu ürünler, Ultra HD çözünürlükte çekim yapan kullanıcılar için geliştirildi.
FPS türünün en başarılı oyunlarından biri olan Halo serisinin yeni oyunu ile ilgili söylentiler artık daha ciddi bir hal almaya başladı. Microsft'un kendi platformlarına özel olarak geliştirdiği Halo serisinin yeni bir oyunu ile ilgili söylentiler Xbox One'ın çıkması ile birlikte daha da fazlalaşmıştı
Dünya Mobil Kongresi’nde Android işletim sistemli telefonlarını beklediğimiz Nokia; X, X+ ve XL modelleri ile meraklıların karşısına geçit. Android’ten uzun süre uzak duran Nokia sonunda Android işletim sistemli, kullanıcı dostu bir telefon yapacak derken bakın karşımıza neyle çıktı.
Kısa bir süre önce açık betaya giren Titanfall kısa sürede yüksek oyuncu kitlesine ulaştı. Respawn Entertainment'ın kurucusu olan Vince Zampella'ya bir kullanıcı Twitter üzerinden Titanfall'ın PC versiyonunun boyutlarını sordu.
Geçtiğimiz yılın en iyi Android telefonları arasına giren LG firması, Mobil Dünya Kongresinde yeni büyük ekranlı telefonunu G pro 2’yi tanıttı.
HTC, en büyük silahını 25 Mart günü yapacağı ayrı bir etkinlik ile tanıtacağını duyurmuştu; ancak elbette Dünya Mobil Kongresi’ne de eli boş gelmedi. Etkinliğe Desire 816 cihazını getiren HTC, uygun fiyatlı orta düzey Android cihazların gelişmesini gözler önüne seriyor.
Sony’nin yeni amiral gemisi ve şimdiye kadar ürettiği en güçlü telefon olan Xperia Z2, Dünya Mobil Kongresi’nde görücüye çıktı. Oldukça güçlü görünen Xperia Z2, hem Z1 kullanıcıları, hem de Sony telefon almak isteyenler için oldukça iyi bir seçenek.
Dün gece sönük geçtiğini söyleyebileceğimiz bir tanıtımla ilk kez görücüye çıkan Samsung’un Galaxy S5 modeli, çok yakında dünyanın çeşitli yerlerinde satışa çıkacak. Peki ülkemize ne zaman gelecek ve fiyatı ne kadar olacak?
Samsung'un, Dünya Mobil Kongresi kapsamında tanıttığı ürünler arasında bir de fitness tracker vardı. Takip cihazından çok dijital bir antrönör gibi duran Gear Fit'in gözümüze çarpan özelliklerini sizin için değerlendirdik.
Samsung, Barcelona’da “Mobile World Congress” kapsamında, ağır topu Galaxy S5’in yanında giyilebilir teknoloji ürünleri olan “Gear 2” ve “Gear fit” ürünlerini de tanıttı. Birer Akıllı saat olan bu ürünlerden Gear 2’nin özellikleri şu şekilde.
Samsung ceosunun bizzat yaptığı konuşmada 200,000,000 "S" serisi kullanıcısını tatmin edecek bir ürün yaptıklarını belirtip ürünü görücüye çıkardı.
Google’ın yayınladığı sıralamada 12 bin küsür içeriğin silinmesini isteyerek 1 numaraya yerleşen ülkemiz, bu kulvarda açık ara birinci olduğunu bir kez daha gösterdi.
Devasa dokunmatik ekranlara bir yenisi daha eklendi. Ideum ve 3m’in ortak ürünü olan Windows ve Android işletim sistemli dev tabletler piyasaya çıktı.
Google’ın Haziran ayının sonunda gerçekleştireceği I/O etkinliği, en yeni Google hizmetlerine ve Google’ın yeni cihazlarının bir kısmına ev sahipliği de yapacak. Peki geçen yıl Galaxy S4 Play Edition’ın tanıtıldığı Google I/O etkinliğinde bu yıl neler göreceğiz?
Başlı başına birer topluluk haline gelen Facebook sayfalarının yönetimi için Facebook ekibi yeni bir güncelleme getirdi. Artık çok sayıda yöneticisi olan sayfaların yöneticileri birbirlerinin yaptıklarından daha rahat haberdar olacak.
Blizzard'ın başarılı oyun serisi Diablo'nnu son oyunu olan Diablo III'ün bu sene içerisinde "Reaper of Souls" adlı eklenti paketinin çıkacağı duyurulmuştu. Bu eklenti paketi Windows, MacOS ve Playstation 4 platformlarına çıkış yapacak. Pek çok ülkede ön siparişine geçtiğimiz haftalarda başlanmıştı.
Geçen yılın en başarılı Android telefonlarından birisi olan, hatta zirveyi zorlayan LG G2 için Android 4.4 KitKat güncellemesinin çıkmasına çok az bir zaman kaldı.
Güney Kore dediğimiz zaman aklımıza gelen ilk şey olan Samsung firması’nın, 2003 senesinde belki de tarihinin en kötü kararını vererek, maddi destek için kendilerine gelen Andy Rubin (Android’in geliştiricisi) ve ekibini geri gönderdiği ortaya çıktı.
Geçtiğimiz hafta toplam değeri 19 milyar Doları bulan astronmik bir meblağ karşılığında Facebook tarafından satın alınan dünyanın en yaygın mesajlaşma uygulaması WhatsApp’a çok yakında sesli görüşme özelliği de gelecek.
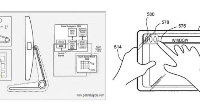
Apple, dokunmatik teknolojisi ile ilgili yeni bir patent daha aldı. Artık MacBook’larda “dokunmatik kontroller” mümkün olabilir.
Mobil Dünya Kongresi başladı; ilk firmalardan birisi olan Microsoft, Windows Phone 8.1 güncellemesi ile birlikte yeni iş ortaklarını da duyurdu.
Google'ın sahip olduğu mobil işletim sistemi Android, çeşitli lisans ve patent haklarından dolayı, her satışından Microsoft'a belli bir oranda para kazandırıyor. Ancak bu meblağın ulaştığı boyut, Microsoft'un zararlarını kapatacak düzeyde.
Dünyanın en geniş mesajlaşma ağı WhatsApp’ın kurucusu, hafta sonu gerçekleşen tarihin en uzun kesintisi için tüm kullanıcılardan özür diledi.
Amerika'nın sevilen dizilerinden biri olan 24 adlı dizinin başarılı oyuncusu Kiefer Sutherland, yeni bir Mortal Kombat oyununun ekibinde yer aldığını açıkladı. Muhtemelen bir seslendirme projesi için yeni Mortal Kombat oyununda çalışan Keifer Sutherland yaptığı bu açıklama ile dikkatleri Warner Bros'un üzerine çekti.
Windows Phone kulanıcılarının dört gözle beklediği Windows Phone 8.1 güncellemesi, 2014 yılının bahar aylarında kullanıma sunulmuş olacak.
Geçtiğimiz günlerde G2’nin daha yüksek performanslı Pro modelini duyuran LG, bir süredir dedikodulara konu olan G2 Mini’nin de geleceğini resmen duyurdu. Peki ekonomik sınıf bir telefon olan G2 Mini’nin özellikleri nasıl?
Dünya Mobil Kongresi’nin bir diğer dev ismi olan Sony, Xperia serisinin yeni üyesi Xperia Z2 tabletini tanıttı. Dünyanın en ince ve en hafif tableti olma özelliği taşıyan Xperia Z2, üstelik sugeçirmez.
Nokia, bugün başlayan Dünya Mobil Kongresi’nde Android işletim sistemini kullanan ilk telefon sınıfı Nokia X’i tanıttı. Daha önce Normandy kod adı ile anılan Nokia X sınıfı telefonlar, bildiğimiz Android’den biraz yabancı olsa da Nokia, mobil cephedeki elini güçlendiriyor.
Samsung’un yarın gece Mobil Dünya Kongresi’nde tanıtımı yapılacak olan yeni amiral gemisi Galaxy S5'in ilk görüntüleri internete düştü.
İnternet tarayıcısı Firefox ile kullanıcıların beğenisini toplayan yazılım şirketi Mozilla, bir süre önce Firefox OS adlı işletim sistemini tanıtmış ve bu işletim sistemini kullanacak cihazlar için Alcatel, Huawei, ZTE gibi firmalarla anlaşmıştı. Şimdi ise fiyatları kırmanın peşinde…
Barcelona’da gerçekleşecek olan Dünya Mobil Kongresi bugün (24.02.2014) kapılarını ziyaretçilere açacak ve mobil dünyanın en yeni oyuncaklarını, en yeni teknolojilerini görücüye çıkaracak. Peki Dünya Mobil Kongresi 2014’te bizleri neler bekliyor, etkinlik süresince neler göreceğiz?
Google kendi yaptığı açıklamada, İsrailli yazılım şirketini SlickLogin’i bünyesine kattığını duyurarak yeni bir iş sahasına daha adım attı. Silikon Vadisi’ne yeni katılan “SlickLogin” geliştirdiği teknoloji sayesinde bütün “Login” olma çilelerine çözüm bulmayı amaçlıyor.
Pek çok kişi için oynadığı ilk oyun çok önemlidir ve oynanan ilk oyunu yeri hep ayrı olmuştur. Aynı şey benim için de geçerli atari de oynadığım ilk oyun Tank 1990'dı iki kişilik olarak kuzenim ile beraber oynadığım oyuna hayran kalmıştım.
Geçtiğimiz günler içerisinde 16 milyar dolar gibi yüksek bir ücret ile Facebook'a satılan popüler mesajlaşma uygulamasına şu anda çökmüş durumda. Yaklaşık olarak 22:00'dan beridir WhatsApp'a erişim gerçekleşmiyor.
Özellikle tasarımsal olarak kullanıcılarına farklı bir deneyim sunan IOS 7, Apple'ın adımlarıyla her geçen gün daha stabil ve güvenilir bir işletim sistemi olma yolunda ilerliyor.
Nintendo'nun efsanevi oyun serisini bilmeyen yoktur. Kaldı ki Mario karakteri şu anda dünyanın en çok tanınan oyun karakteri konumunda. Atari konsoluna çıkış yapmış olan bu oyun, üzerinden onca yıl geçmesine rağmen, halen hatıra amaçlı olarak oynanıyor. Bugüne kadar Super Mario Bros oyununu en hızlı şekilde bitirmek, oyunu hiç ölmeden bitirmek veya en yüksek puanla bitirmek gibi çeşitli videolar çekildi ve herkes kendi rekorunu tüm dünya ile paylaştı
Ortalığı kasıp kavuran ve herkesi oynarken sinir etmeyi başaran Flappy Bird oyunu yapımcısı tarafından tüm platformlardan kaldırılmıştı. Bunun ardından etraf Flappy Bird'ün benzerleri ile dolmaya başladı. Flappy Bird çılgınlığının artık yavaş yavaş sona ermeye başlarken bir oyun geliştiricisi Flappy Bird ile ilgili yeni bir uygulama geliştirdi.
2014 yılının en çok beklenen oyunlarının en başında yer alan Titanfall oyunu şuan açık betada. Xbox One ve PC platformları için açık betaya başlayan Titanfall'a ilgi büyük. Hatta o derece ki Titanfall'ın ilk betasına oyunun yapımcısı olan Respawn Entertaintment tarafndan seçilen oyuncular davet edileekti
Google’ın Nexus 5’i ile birlikte görülen Android 4.4 KitKat’ın diğer telefonlara da gelmesi sabırsızlıkla bekleniyor. HTC ve LG’nin anlaşmaları doğrultusunda yakın bir zaman sonra KitKat’a geçeceğini duyurmasından sonra Samsung cephesinden S3 kullanıcılarına kötü haber geldi.
Half-Life serisi pek çok oyuncu tarafından en başarılı FPS oyunu olarak görünüyor. Half-Life'ın çıkması beklenen ancak çıkışı bir türlü gerçekleşemeyen Half Life 3 oyunu 2007 yılından bu yana bekleniyor. Neredeyse her yıl periyodik olarak Half Life 3'ün çıkışı ile ilgili dedikodular ortaya çıkıyor ancak hiç bir zaman somut bir gelişme gerçekleşmiyor.
PSVita platformunun en sevilen oyunları arasında yer alan Draw Slasher adlı oyun iOS platformuna çıkış yaptı. Çizgi roman vari tasarıma sahip olan Draw Slasher adı oyun oynanışı açısından birazda olsa Fruit Ninja'ya benziyor ancak konsept açısından bu iki oyunun birbirine benzediklerini söylemek pekte mümkün değil.
Ürettiği cihazlar ya da teknolojileri dışında bir de Apple ile yaşadığı patent davaları ile sık sık gündeme gelen Samsung, tablet ve telefon dünyasında rahat bir nefes almaya çalışırken bir patent davası ile daha karşılaştı.
Valve tarafından geliştirilen Dota 2 şüphesiz ki her geçen gün daha da büyüyor. Tam sürüme geçmesinin ardından oyuncu sayısında daha da fazla artış olan Dota 2, başarılı gidişatına emin adımlarla devam ediyor. Geçtiğimiz günlerde Valve firması Dota 2'ye özel olarak bir film çıkarmayı planladığını duyurdu.
iPhone 5S, HTC One, LG G2 … Altın renkli telefon furyası yayıldıkça yayılıyor. Bu ekibe son katılan ise Samsung’un Galaxy S5 modeli olacak gibi duruyor.
Dünyanın en çok kullanılan mesajlaşma uygulaması olan WhatsApp, toplamda 50 çalışanıyla yüzlerce milyon kişiye ulaşıyor ve bunu tamamen ücretsiz/reklamsız olarak başarıyor. Uzun bir süredir teknoloji devlerinin gözünün önünde duran WhatsApp, sürekli satın alma tekliflerini reddetse de önceki gün Facebook'un teklifine hayır diyemedi ve toplamda 19 milyar dolara Facebook bünyesine geçti.
Akıllı telefonlarımızla her gün milyonlarca fotoğraf çekiyor ve bunları tüm dünyayla paylaşıyoruz. Ancak telefonlarımızın kamerasını başka şekillerde kullanmak da mümkün. 3 boyutlu algıladığımız evreni, 2 boyuta indirgeyerek arkadaşlarımızla paylaşmak en güzel yollardan birisi olabilir ancak telefonumuzun da evreni bizim gördüğümüz şekilde 3 boyutlu algılamasını istemez miydik?