Katlanabilir telefonları dünyanın literatürüne yerleştiren Samsung’un Galaxy Z Fold modeli, çıktığından beri kullanıcıları tarafından bir özelliği sebebiyle eleştiriliyordu. Telefonun açılmış halinin ortasında bir girinti mevcuttu.
Samsung, 2016 yılında aldığı patentin de doğrulayacağı gibi bu kusuru ortadan kaldırıyor. Şirketin en son çıkacak olan Galaxy Z Fold 5’te bu sorunu çözüyor. Gelin detaylarına beraber göz atalım.
Samsung Galaxy Z Fold 5’te ekran daha düz olacak

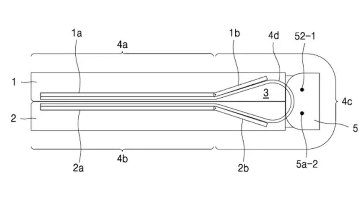
Kore basınına göre Samsung, Galaxy Z Fold 5'te su damlası şeklinde bir menteşe kullanacak. Bu da Samsung’un sonraki amiral gemisi katlanabilir akıllı telefonunun, arasında boşluk olmadan tamamen düz katlanabileceği anlamına geliyor.
Üstelik Galaxy Z Fold 5'in iç ekranı daha pürüzsüz ve daha az görünür bir kırışıklığa sahip olacak. Bu, Galaxy Z Fold hayranlarının birkaç yıldır istediği bir şey. Haberde Samsung'un yeni menteşe tasarımına ‘dumbbell’ (dambıl) adını verdiğini ve şirketin bu tasarımın patentini 2016'da aldığı belirtiliyor. Ancak maalesef bu tasarımın bir eksi yönü var: IPX8 suya dayanıklılık sertifikası yok.
Bilinmeyen bir nedenden ötürü 2016’da patenti alınan bu tasarım hiç yürürlüğe girmedi. Bu yeni dambıl şeklindeki menteşe sayesinde ekranın dayanıklılığının da arttığı, üzerinde daha fazla katlama ve açılma hareketine dayanabileceği de belirtiliyor.
Yeni çıkan bir habere göre bu yeni menteşe, Galaxy Z Fold 5'in hem öne hem de arkaya katlanabilmesini sağlayacak

Görseldeki telefon her ne kadar Galaxy Z Fold olmasa da Samsung'un patentindeki menteşe ile aynı mantıkta bir menteşeye sahip. Menteşe, boşluğun ortadan kaldırdığı için bu cihazın herhangi bir Fold modelinden daha ince olmasını sağlıyor.

Galaxy Z Fold 5'in ağırlığını da azaltabilecek olan bu menteşe, telefonun hem öne hem de arkaya katlanabilmesine olanak sağlayacak.

