Elektronik cihazlara su kaçması ya da içerisinde nemlenmelerin meydana gelmesi kullanıcıların en çok korktuğu şeylerden bir tanesidir. Görünüşe göre Apple da cihazlarına bu konuda yeni yetenekler kazandırmak için çalışıyor.
ABD merkezli teknoloji devi, istenmeyen suyun cihazdan atılabilmesi için hoparlörleri kullanma özelliğini daha fazla cihazına getirmek için çalışıyor. Apple'ın iPhone ve Apple Watch'ları çok fazla hassas bileşene sahip ve bu parçaların birçoğu suyla temas halinde kullanışsız hale gelebiliyor. Şirket de bu konuda yeni koruma yöntemleri geliştirmeye devam ediyor.
Apple, cihazlarını sudan korumak için yeni yöntemler üstünde çalışıyor

Apple, uzun süredir cihazlarını sudan korumak için yeni teknolojiler üzerinde çalışıyor ve üzerinde çalıştığı bu teknolojilerden bir tanesini 2016 yılında çıkardığı Apple Watch Series 2 cihazında kullanıcılarına sunmuştu. Bu teknolojide su, cihazdan tahliye ediliyordu. Şirket, bu konudaki çalışmalarına aldığı 2 yeni patentle devam ediyor.
Şirket, aldığı 2 patentten bir tanesini şöyle tanımlıyor: "Hoparlörlerin artırılmış kurulaması ve neme maruz kalmış sensör bileşenleri için sistemler." Kameralar ve GPS gibi özelliklerin, taşınabilir elektronik cihazlar neme maruz kalınca arızalandığını söyleyen şirket, bu nemin tahliye edilmesinin kolaylaştırılması gerektiğini dile getirdi.
Daha sonrasında patentte, nemin nasıl tespit edileceği ve farklı sistemler için farklı materyaller kullanılması tanımlanıyor. Bundan sonrasında suyun sistemden nasıl çıkarılacağıyla ilişkilendiriliyor ki ikinci patent de tam olarak burada devreye giriyor. Gömülü su tespiti ve ısıtıcılı kapağın olduğu ikinci patent, basınç sensörleri kullanmak üzerine. Bunlar, nemi tespit edebiliyor ve yok edilmesini kolaylaştırıyor.

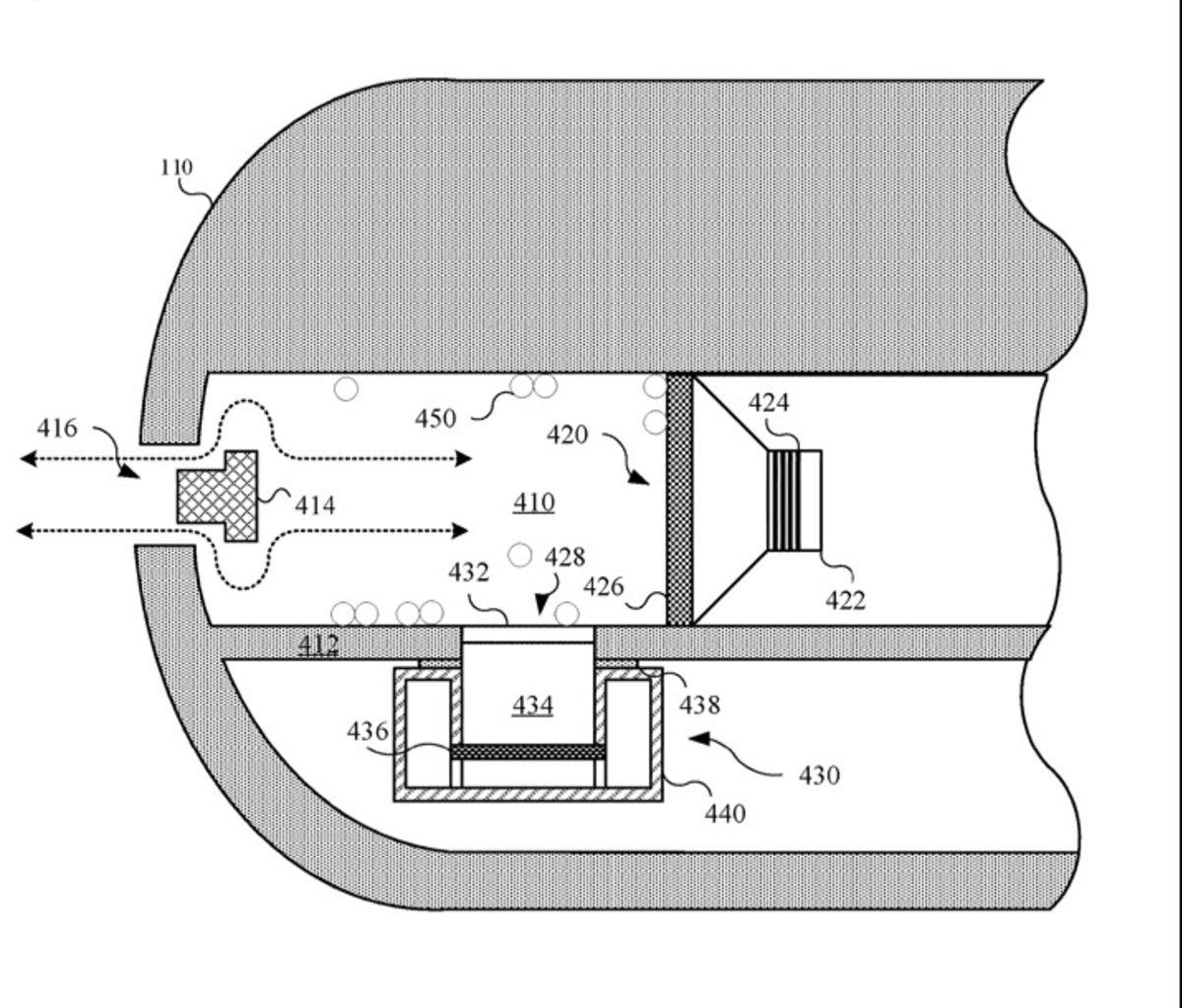
(Hoparlör sistemi kullanılarak suyun nasıl çıkarılacağını gösteren patent çizimi)
Teknoloji devi, ikinci patentte ise şunları dile getiriyor: "Akıllı telefon ve akıllı saatlerde kullanılan mikro-elektro-mekanik sistem (MEMS) tipi basınç sensörleri, genellikle kapasitif tipi basınç sensörleridir. Basınç sensörlerinin kullandığı ara jel, genellikle mikroelektronik cihazlarda kullanılıyor ancak jel, çevresel kirlere ve su tıkanmalarına karşı da duyarlı olabilir."
Apple'ın patentte sunduğu çözüm ise cihazın en azından bir kısmını kaplayacak jel kapak kullanmak ve etrafına elektrotlar yerleştirmek. Daha sonrasında sistem, en az elektrot arasındaki elektrik geçirgenliğini ölçerek suyun varlığını kaydedecek. Aynı elektrotlar, ısı üretimiyle suyu yok etmeye ayarlanacak.
