Daha önce bazı oyunlarda oyun içi yaratıkların biz güçlendikçe güçlendiğini ya da bizim hamlelerimize göre hareket ettiklerini görmüştük. Sony şimdi benzer bir teknoloji için patent almış olsa da yeni teknoloji gerçek zamanlı ve çok daha kapsamlı duruyor.
Daha önceki teknolojilerle basit bir kıyaslama yapmamız gerekirse, eski teknolojiler Ford Model-T iken Sony'nin yeni teknolojisi bir Tesla olacak. Tabii bunun için yeni teknolojinin Sony'nin beklediği kadar iyi çalışması gerekiyor.
Kişiye özel zorluk seviyesi

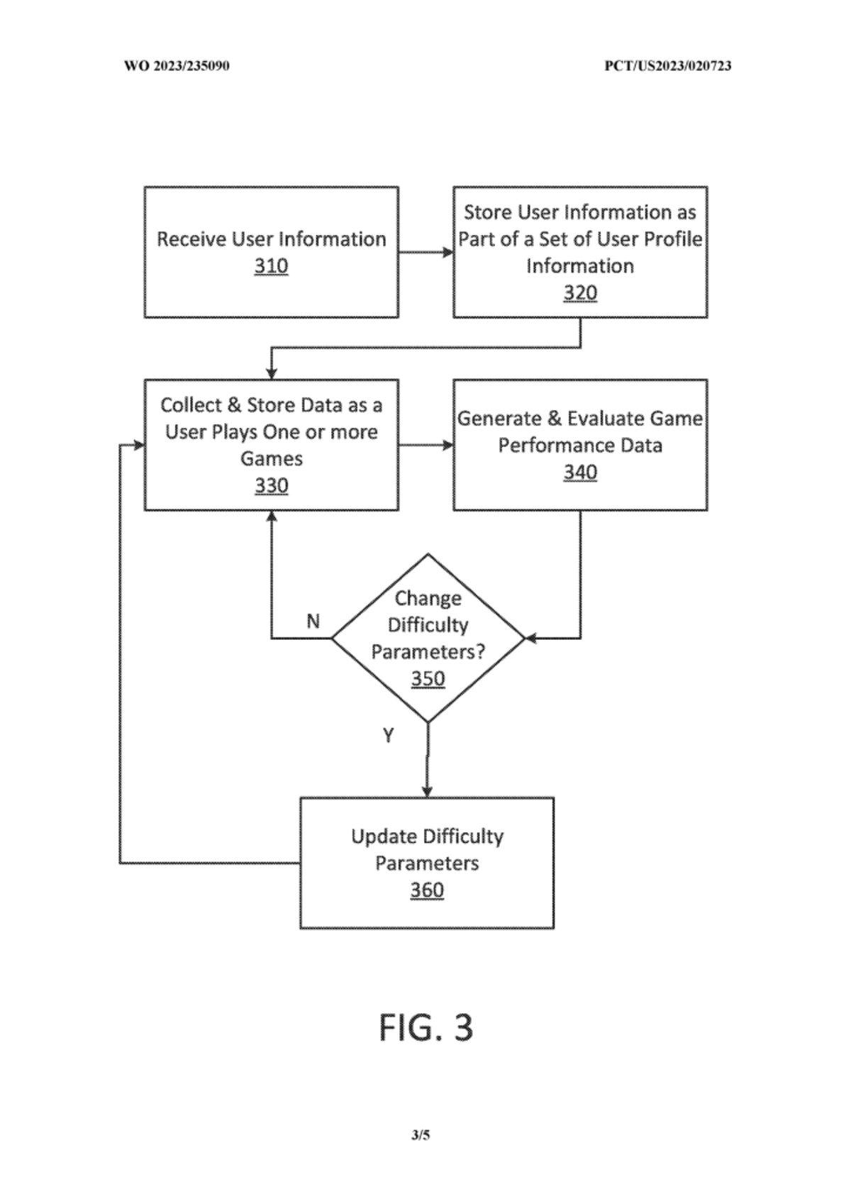
Sony'nin ağza dolu dolu oturan "Adaptive Difficulty Calibration For Skills-Based Activities In Virtual Environments/Sanal Ortamlarda Beceriye Dayalı Aktiviteler İçin Uyarlanabilir Zorluk Kalibrasyonu" adını verdiği bir teknoloji için aldığı patent ortaya çıktı. Bu teknoloji sayesinde oyuncuların, oyun içindeki mekanikler, elementler ve farklı durumlar ile nasıl başa çıktığına göre oyunlardaki zorluk seviyesi gerçek zamanlı olarak değişiyor.
Teknolojinin temelinde ise oyuncuların oyunlarda daha fazla zaman geçirmesini sağlamak yatıyor. Temel olarak oyun tasarımında bir denge gereksinimi bulunmaktadır. Oyunlar çok kolay olursa sıkılır ve oynamayı bırakırız, oyun bize bir başarma hissi vermez. Oyun fazla zor ve yorucu olursa, başarısızlık hissinden bıkıp oynamayı bırakırız. İşte bu yüzden de yeni teknoloji, tam kararında zorlanmamızı sağlayacak şekilde oyundaki etmenleri kolaylaştırıp zorlaştırabilecek.
Sony'nin patentinde karakter gücü, düşman ortaya çıkma oranları, düşman becerileri, hareket hızı gibi farklı etmenler üzerinden oyun zorluğunun değişebileceğini görüyoruz. Bakalım Sony'nin teknolojisi eski oyunlardaki teknolojilere mi benzeyecek yoksa bambaşka bir teknoloji mi olacak?