Apple, akıllı saati Apple Watch'u esneklik ve çok yönlülük eklemek için radikal değişikliklerle yeniden tasarlıyor olabilir. ABD Patent ve Ticari Marka Ofisi tarafından yayınlanan yeni bir patente göre gelecek nesil Apple Watch modelleri, modüler bir akıllı saat olarak yeni özellikler veya işlevler eklemeyi kolaylaştıracak.
Apple Watch için alınan yeni bir patent, Modüler Sistem olarak adlandırılıyor. Buradaki ana fikir, saati satın aldıktan sonra saate yeni öğelerin eklenebilmesi. Daha önce, Apple Watch'a ekstra güç saylayacak bataryalı kayışlar bağlanabilmesi gibi fikirler ortaya atılmıştı. Ayrıca sensörleri kayışa koymak gibi bir fikir de gündeme geldi ancak kullanıcıların kayışları değiştirmeyi sevmeleri nedeniyle fikir geri çekildi.

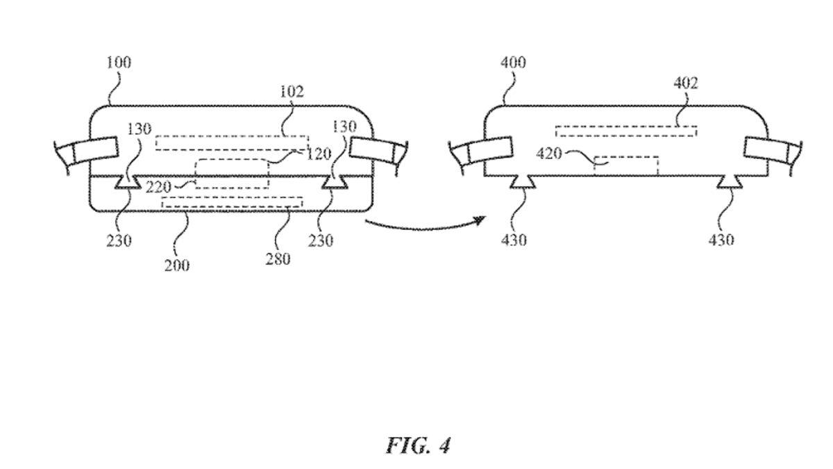
Yeni sistem, Apple Watch'u kişiselleştirmenin saatin arkasına eklenen fonksiyonel modüllerle olabileceğini ortaya koyuyor. Patente göre akıllı saatin gövdesi, kullanıcı tarafından istenen özelliklere göre modifiye edilebilecek. Yani, farklı şeyleri ölçebilecek yeni sensörler ortaya çıkabilir.
Örneğin, yüksek tansiyonu olanlar, saate takacakları modüllerle daha kapsamlı ölçümler yapabilecekler. Apple Watch'un özellikle sağlık özellikleri nedeni ile sıklıkla tercih edildiği düşünüldüğünde bulunacak sensörlerin kullanıcı tarafından seçilmesi mantıklı bir hamle olabilir.

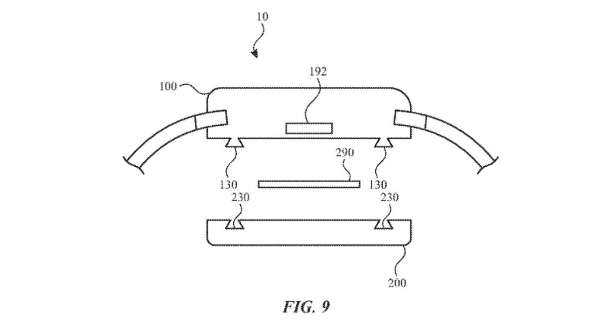
Patentte Apple Watch'un arkasındaki bileşenlerin saate takılabileceği bağlantı noktaları gösteriliyor. Modüler parçaların saatin altında olması da önemli bir avantaj. Akıllı saatin bileğe yaptığı baskı, parçaların yerinden çıkmamasını ve sensörlerin efektif bir şekilde kullanılmasına yardımcı olabilir. Tabii ki, yeni modüllerin Apple Watch'un pil kapasitesini artırma gibi özellikleri de olabilir.
Patent yeni yayınlanmasına rağmen, başvurusu geçen yıl yapıldı. Apple genellikle ürünlerini güncellemek için ağır davranıyor ve bu yüzden modüler tasarımın Apple Watch Series 6 ile gelmesi zor görünüyor. Ayrıca patentler, söz konusu özelliklerin kesinlikle uygulanacağı anlamına gelmiyor ancak modüler saatler iyi bir fikir gibi görünüyor.