Sony’nin yeni nesil konsolu PlayStation 5 hakkında bugüne kadar epey fazla şey duyduk. Cihazın tasarımı henüz kesinlik kazanmamış olsa da günümüz bilgisayarlarında bulunan üst düzey ekran kartlarına kafa tutabilecek bir performansa sahip olacağını biliyoruz.
Fakat PlayStation 5 hakkında yeni ortaya çıkan bir patent, bu konsolun çok daha fazla özelliğe sahip olacağını ortaya koydu. Patentte yer alacak özellik Siri ve Alexa gibi bir yapay zeka asistanına işaret etse de bu asistanın görevi fazlasıyla tartışmalı olacak gibi duruyor.
Sony'nin tartışma yaratacak asistan patenti:

World Intellectual Property Organization’da (Dünya Fikrî Mülkiyet Örgütü) keşfedilen patent, Sony’nin yapay zeka asistanı üzerine yaptığı çalışmaları ortaya koydu. Sony’nin ortaya çıkarmayı planladığı yapay zeka, bir oyun konsoluna yakışacak cinsten olsa da bazı özellikleri gelecekte fazlasıyla eleştirilebilir.
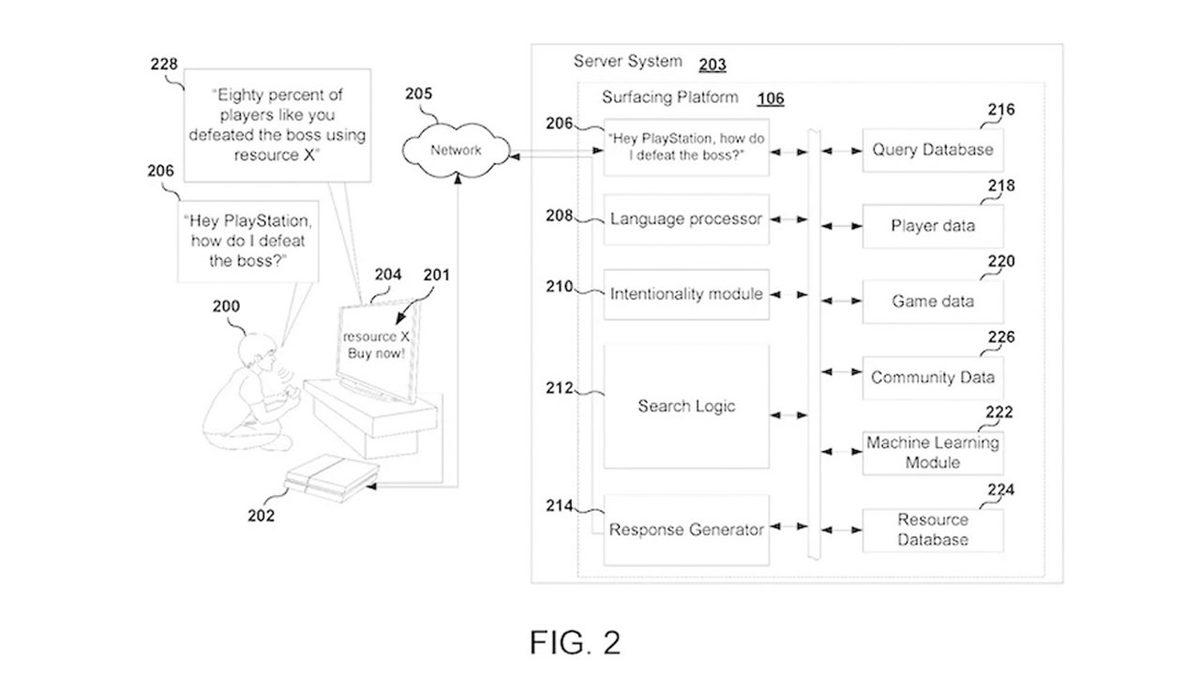
Sony’nin PlayStation 5’e koyması beklenen yeni yapay zeka asistanı, oyuncuların takıldıkları kısım hakkında yardım istemeleri durumunda hemen devreye girerek onlara tavsiyede bulunuyor. Ancak bu asistan, görselde de yer alan “Eighty percent of players like you defeated the boss using resource X. (Senin gibi oyuncuların %80’i boss’u X kaynağı kullanarak yendi.)” şeklinde tavsiyelerde bulunacak.
Evet, PlayStation 5’teki asistan oyunculara bir anlamda yardım ediyor. Peki ya bu ‘X kaynağı’ sizde olmasaydı ne yapacaktınız? Yine patentte yer alan görselde ekrandaki “Resource X, Buy Now! (X Kaynağı, Hemen Satın Al!)” yazısına dikkat çekmek istiyoruz.

Bu noktada asistanın bir para tuzağı olduğunu düşünebilirsiniz. Ancak iş burada da bitmiyor. Patentte öyle bir açıklama var ki gelecekte oyunların yapısını bile tamamen değiştirebilecek bir özelliği anlatıyor. O açıklama şu şekilde yer alıyor:
“Zaman zaman kullanıcının karakteriyle bir görevi başarması için oyun ortamında ona yardım edebilecek oyun içi bir kaynak yer alabilir. Bu oyun içi kaynak indirilebilir içerik (DLC), eklenti, yükseltme, ekipman, ipucu ve strateji olabilir. Ancak kullanıcı, böyle bir kaynağın bulunduğundan haberdar olmayabilir.”
Sony’nin patentini aldığı bu yapay zeka asistanının PlayStation 5’te karşımıza çıkıp çıkmayacağı hakkında kesin bir şey söyleyemeyiz. Ancak böyle bir asistan bir konsolda yer alırsa oyuncular ne düşünür, bunu öğrenmek için sizleri yorum kısmına davet ediyoruz.

