Microsoft, ekim ayında katlanabilir cihazları olan Surface Duo ve Surface Neo’yu duyurdu. Microsoft’un katlanabilir telefonu ve tabletinin duyurusu yapılmasına rağmen cihazlarla ilgili teknik detaylar Microsoft tarafından açıklanmadı. Önümüzdeki yıl piyasaya çıkacak iki cihazla ilgili detaylar, yavaş yavaş ortaya çıkıyor.
Ortaya çıkan yeni bir patent, Microsoft’un yeni cihazlarının soğutma sistemini gösteriyor. Ortaya çıkan patente göre Microsoft her iki cihazda da Türkçe’ye "buhar odası" olarak çevrilebilecek vapour chamber soğutma teknolojisini kullanıyor. Vapour chamber soğutma teknolojisi, cihazların menteşeleri üzerinde uzanarak cihazların ısınmasını engelleyecek.

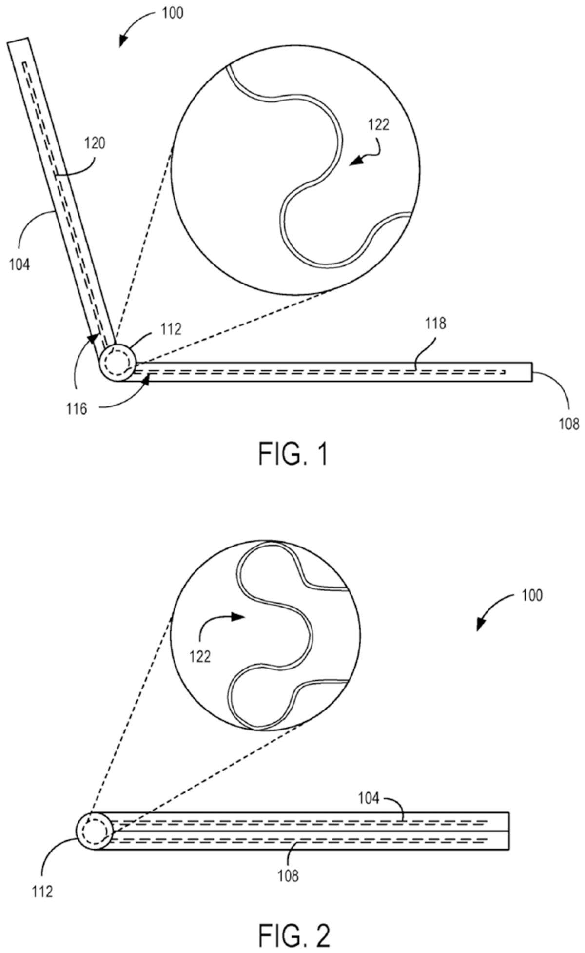
Surface Duo ve Surface Neo’nun soğutma sistemini gösteren patentte, esnek bir menteşe üzerine uzanmış soğutma sistemi örnekleri var. Patentte açıklanan bir örnekte, menteşe ile birbirine bağlanmış birinci ve ikinci bölgeler gösteriliyor. Vapour chamber’da işte bu iki bölüm arasında uzanan buhar haznesi şeklinde yer alıyor. Buhar haznesi iki bölümün altında da bir titanyum katmanın içinde bulunarak ekranların ısınmasını engelliyor.
Surface Duo ve Surface Neo’nun piyasada görünmesine daha uzun bir zaman var. Microsoft, cihazlarda değişiklikler yapabilir. Soğutma sistemi üzerinde de bir takım değişiklikler söz konusu olabilir. Katlanabilir cihazlarla ilgili tartışmalar devam ederken, Microsoft’un cihazlarının piyasaya nasıl gireceği şimdiden merak konusu.
