Xiaomi, akıllı telefonların yanı sıra birçok farklı alanda da yenilikçi ürünler geliştiren bir teknoloji devi konumuna geldi. Şirket, son zamanlarda elektrikli araç sektörüne de girmeye hazırlanıyor. Bu kapsamda, şirketin araba camının altına gömülü bir ekran teknolojisi için patent başvurusunda bulunduğu ortaya çıktı.
Gizmochina'nın haberine göre, Xiaomi'nin patent başvurusu Çin Ulusal Fikri Mülkiyet İdaresi (CNIPA) tarafından onaylandı. Patent, araba camının altında yer alan ve dokunmatik özellikli bir ekranı gösteriyor. Bu ekran, sürücülerin araç içi eğlence sistemine erişmesini ve navigasyon gibi özellikleri kullanmasını sağlayacak.
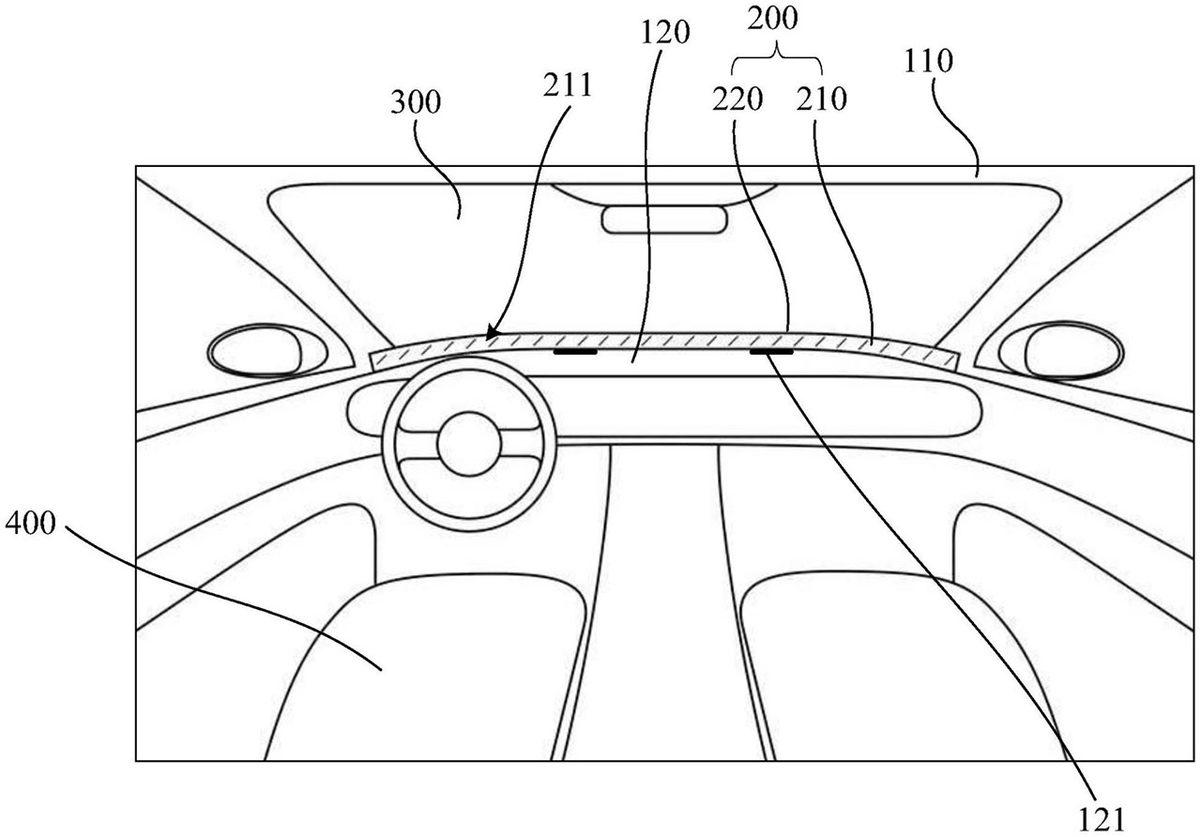
Xiaomi'nin Araba Camının Altına Gömülü Ekran Teknolojisi Nasıl Çalışacak?

Xiaomi'nin patentine göre, araba camının altına gömülü ekran, camın şeffaflığını ayarlayabilecek. Böylece, sürücüler hem dışarıyı hem de ekrandaki bilgileri görebilecek. Ekranın büyüklüğü ve konumu da sürücünün tercihine göre değiştirilebilecek.
Ekran, dokunmatik özellikli olacak ve sesli komutlarla da kontrol edilebilecek. Sürücüler, ekrana dokunarak veya sesli komut vererek müzik çalabilir, harita açabilir, mesaj gönderebilir veya arama yapabilir. Ayrıca, ekranın parlaklığı ve kontrastı da otomatik olarak ayarlanabilecek.
Xiaomi'nin araba camının altına gömülü ekran teknolojisi, geleceğin araçları için ilgi çekici bir özellik olabilir. Ancak, bu teknolojinin ne zaman hayata geçirileceği veya hangi modellerde kullanılacağı henüz belli değil. Xiaomi'nin elektrikli araç sektöründe nasıl bir performans sergileyeceğini ise zaman gösterecek.
