Bir araçta kapılar, aracın tasarımı bakımından oldukça önemli bir yer tutuyor. Araç kapıları, zaman içerisinde martı kanadı kapılar, kayan kapılar ve öne açılan kapılar şekillerine büründü. Bu tarz kapıların her biri araca farklı bir estetik kattı.
Kapıların yanı sıra camlar da önemli bir yer teşkil ediyor. Çoğu kişi temiz camları tercih etse de bazıları gizliliği ön plana koyarak renkli seçenekleri tercih ediyor. Bu renkli camlar birazcık gizlilik sağlasa da tam anlamıyla bu konuda verimli olduğu söylenemez.

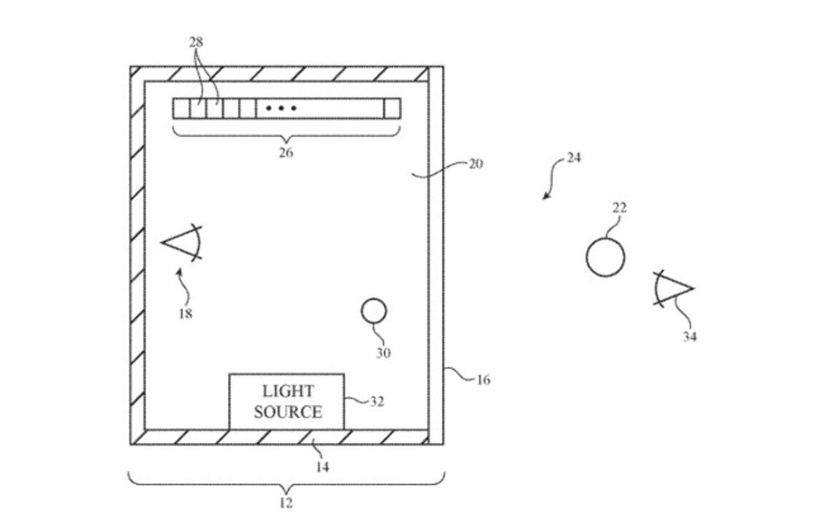
Apple da üreteceği araçta gizlilik konusuna önem veriyor olacak ki salı günü ABD Patent ve Marka Ofisi’nden bu konuyla ilgili bir patent aldı. Şirket, bu patentle birlikte sıra dışı kapı tasarımının yanında arabanın içerisindeki gizliliği sağlayan renkli camı da aracına ekleyecek gibi görünüyor.
Apple’ın aldığı ilk patent, “Gizlilik modu sağlamak için geniş/dar bant ışık kaynağı ile koordine edilmiş bant geçirgen filtreli pencereli iç aydınlatma sistemi.” Şirket, bu sayede aracın ışıklandırma sistemini kullanarak aracın içerisindekilere bir gizlilik sunacak.
Işık filtresi ile işlenen cam, geniş ışık bantları kullanıldığında ışığın hiçbir sorun yaşamadan geçmesini sağlayacak. Ancak filtre, dar ışık bantlarının geçmesini önleyecek.
Apple’ın dahili aydınlatma sistemi, yayılan ışığı kontrol etmek amacıyla farklı renklerdeki LED’lerden yapıldı ki böylece farklı renk modları arasında da geçiş yapılabilecek. Kullanıcılar ışık sistemini, isterlerse herkesin aracın için görebileceği şekilde ya da kimsenin göremeyeceği şekilde ayarlayabilecek. Bunların haricinde Apple, ayarlanabilir ışık filtresi olarak sıvı kristal katmanını da kullanıcıları için sunacak.

Teknoloji devinin aldığı ikinci patent ise “Yolcu kapısı ve penceresi.” Bu patentin kapsamı ise arkadaki ve öndeki yolcuların kapılarının nasıl açılacağı. Burada Apple’ın, bir çeşit değiştirilmiş öne açılan kapı tarzını kullanacağı ortaya çıkıyor.
Apple’ın aracının kapılarında kullanacağı mekanizma, merkez kapı direği olmadan çalışıyor. Böylece kapılar oldukça geniş açılarda açılabiliyor ve yolcuların inip binmesi için engelleri ortadan kaldırıyor. Bu mekanizmasının daha fazla koltuğa izin vermesi de oldukça muhtemel.
Patent, sadece kapı açılmasının yanı sıra kapıların pencerelerine de ekstra özellik getiriyor. Açma ve kapamada pencereler, kapının yapısının üst kenarını geçecek şekilde aşağı inecek, daha sonra kapalı olduklarında tekrar boşluğa yükselecek ve bir conta oluşturacak.
Tabii ki bu patentlerin alınmış olması, Apple’ın arabasında bu özelliklerin kesin olarak yer alacağı anlamına gelmiyor. Bu patenler, şirketin ARGE aşamasında olduğunun da bir göstergesi.

