Apple, uzun süredir akıllı yüzük fikriyle uğraşıyor. Zaman zaman gündeme gelen Apple Ring, yeni patentlerle yeniden konuşulmaya başladı. Görünüşe göre bu yüzük iPhone’da ses kontrolü yapabilecek ve hatta mikrofon görevi üstlenebilecek.
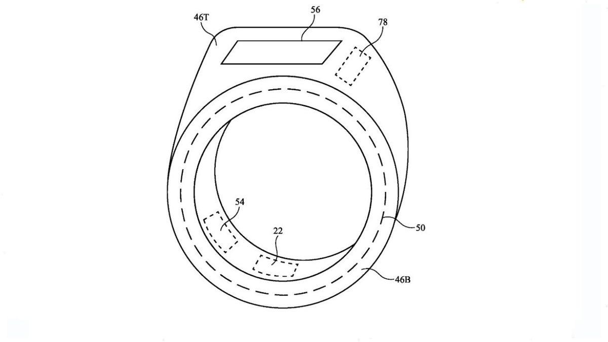
Ortaya çıkan ilk patentin adı “Ring Device”. Bu patente göre yüzük NFC sayesinde biyometrik verilerle işlem yapabiliyor ve hatta sağlık takibi için kullanılabiliyor. Aynı zamanda içinde bulunan hareket ve yön sensörleriyle el hareketlerini algılayarak farklı cihazları kontrol etmek de mümkün görünüyor.
Dönen halka ile liste kaydırma ve cihaz kontrolü mümkün olacak

Diğer patentte ise yüzüğün kullanım şekli ön plana çıkıyor. “Değişken dönme direncine sahip yüzük” olarak tanımlanan bu tasarımda parmakta sabit kalan iç halka ve dönebilen dış halka yapısı mevcut. Böylece yüzüğü çevirerek listeleri kaydırmak ya da evdeki bazı cihazları kontrol etmek mümkün olabilecek.

Apple Ring’in, Apple Watch ve iPhone ile uyumlu çalışarak bildirim gösterebilmesi, titreşimli uyarılar verebilmesi ve farklı kontrol özellikleri sunması bekleniyor.



