Son yıllarda birçok marka gibi Apple da cihazlarında uydu bağlantısı özelliklerine destek veriyor. Bu özellikler, sinyal alınamayan yerlerde bile uydu yoluyla iletişim kurulmasına imkân tanıyor ve özellikle acil durumlarda çok işe yarayabiliyor. Şimdi ise şirketin 2024 yılında bu konu hakkında yaptığı bir patent başvurusu ortaya çıktı.
Yeni gün yüzüne çıkan patentte Apple’ın uydu bağlantısını teknolojisini ilginç bir ürünle çok daha iyi getirmeyi planladığı görüldü. Bu ürün, bir kılıf olarak karşımıza çıkıyor. Patent, uydu bağlantısını iyileştiren bir telefon kılıfını içeriyor.
İçerikten Görseller
Uydu bağlantısını iyileştiren antenlere sahip olacak

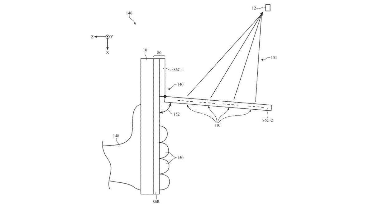
Patentteki bilgilere göre kılıf hem iPhone’lar hem de iPad modelleri için olacak. Daha fazla ve daha iyi antenler içermesiyle de bağlantıyı iyileştirecek. Çizimlerden de görebileceğiniz gibi kılıfın içindeki fazlı anten dizisini daha iyi bir uydu sinyali almak için gökyüzüne doğru çeviren, açılıp kapanabilen bir parçası olacak. Bu dokunulduğunda bağlantının engellenmesinin de önüne geçecek.
Bu tür bir anten dizisiyle kılıf bir grup uyduya bağlanabilecek, çok daha iyi bağlantı sunabilecek. Kullanıcı tarafından takılıp çıkarılabilen normal bir kılıf gibi işlev göreceğini de belirtmek gerek.
Tabii ki patent başvurularıyla ilgili bilmeniz gereken bir şey var. Tıpkı diğer şirketler gibi Apple da sürekli patent başvuruları yapıyor. Ancak bu teknolojilerin hepsi gün yüzünü görmeyebiliyor. Bu yüzden uydu bağlantısını iyileştiren kılıf teknolojisinin de gerçeğe dönüşüp dönüşmeyeceğini bilmiyoruz.
