Şubat ayında Galaxy S23 serisini tanıtmak için gün sayan Samsung, bugün takvimin ilerleyen aylarına dair bir gelişmeyle gündeme geldi. Şirketin yeni nesil katlanabilir telefonu Galaxy Z Fold5’ten kulağa hoş gelen bazı haberler paylaşıldı.
The Pixel tarafından paylaşılan habere göre Samsung, yeni katlanabilir telefonunda 108 MP çözünürlüğündeki kameraya yer vermeye başlayacak. Fold serisi, bugüne kadar 50 MP ana kamerayla geliyordu.
Elbette 108 MP’in küçük bir dezavantajı da olacak:

- *Samsung Galaxy Z Fold4
Samsung, katlanabilir telefonunda 108 MP kamera lensine yer açmayı başarmış olsa da, bu kamera doğası gereği ekstra ağırlığa yol açacak. Fold4 263 gram iken iddiaya göre yeni model, 275 gram ağırlığa sahip olacak.
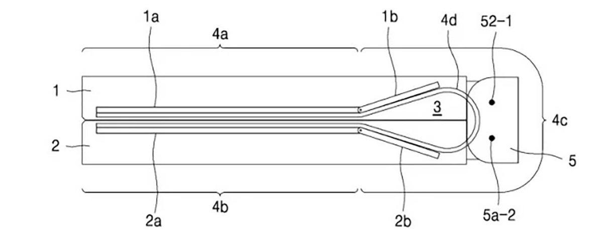
Bir diğer habere göreyse 4 yıllık tasarım sorununun en sonunda ortadan kalkacağı yönünde:

Samsung, Fold serisi katlanabilir telefonlarını aslında tam anlamıyla katlayamamıştı. Telefon katlı durumdayken iki ekran arasında daima bir boşluk bulunuyordu.
**
**
Naver tarafından paylaşılan yeni iddiaya göreyse Samsung, telefonunun menteşesinde yeni bir tasarıma geçiş yapacak. Su damlası şeklindeki yeni tasarımla ekranın katlandığı kısım birbirinden ayrı olsa da cihaz, tamamıyla katlanacak ve iki kenar birbirine değecek.
