Gelecekte yaygınlaşması beklenen artırılmış gerçeklik gözlüklerinin hayatımızın her alanında kullanılması planlanıyor. Şimdi ortaya çıkan bir patent de otomobil devi Toyota’nın böyle bir hamle yapabileceğini gösteriyor.
Toyota, ABD Ticari Marka ve Patent Ofisi’ne yaptığı bir başvuruda artırılmış gerçeklik (AR) gözlüklerini otomobillere getirmek istediğini ortaya koydu. Şu anki araçlarda gördüğümüz head-up display (baş üstü gösterge ekranı veya kısaca HUD) özelliğinin bu gözlüklerle değişebileceğini gösteren patent, CarBuzz tarafından fark edildi.
Gözlük, içeri giren ışığı ayarlayarak oluşan problemleri çözmeyi amaçlıyor

Cihazın tüm koşullarda daha iyi görüntü sağlamak için ışığın engellenmesine de odaklanan patentin genel amacı, güvenliği ve kullanılabilirliği artırmak. Bilindiği üzere HUD, hız vb. bilgileri ön cama iletiyor. Ancak bu teknoloji, hem dikkat dağıtma gibi problemler hem de bazı sınırlamalarla birlikte geliyor. Toyota da artırılmış gerçeklikle bunları çözebileceğini düşünüyor.
Güneş ışığı, araç kullanırken sürücüler için zorlayıcı olabilir ve cama yansıtılan bilgilerin net görülmesini engelleyebilir. Tabii ki bu bir artırılmış gerçeklik gözlüğü için de benzer sorunları oluşturabilir. Aynı zamanda geceleri de uzun farların yakılması benzer problemleri ortaya çıkarabilir. Yeni patent, aracın içine ışığın ne kadar girdiğini ayarlayarak bu sorunları çözmeyi amaçlıyor.
Patente göre bu problemler, otomatik kararan dikiz aynasında da kullanılan elektrokromik camlar yoluyla çözülebilir. Hatta işe yararsa, AR gözlükleri her otomobilde gördüğümüz güneşliklerin bile yerine geçebilir.
Araç hakkındaki önemli bilgiler gözlükten gösterilebilir

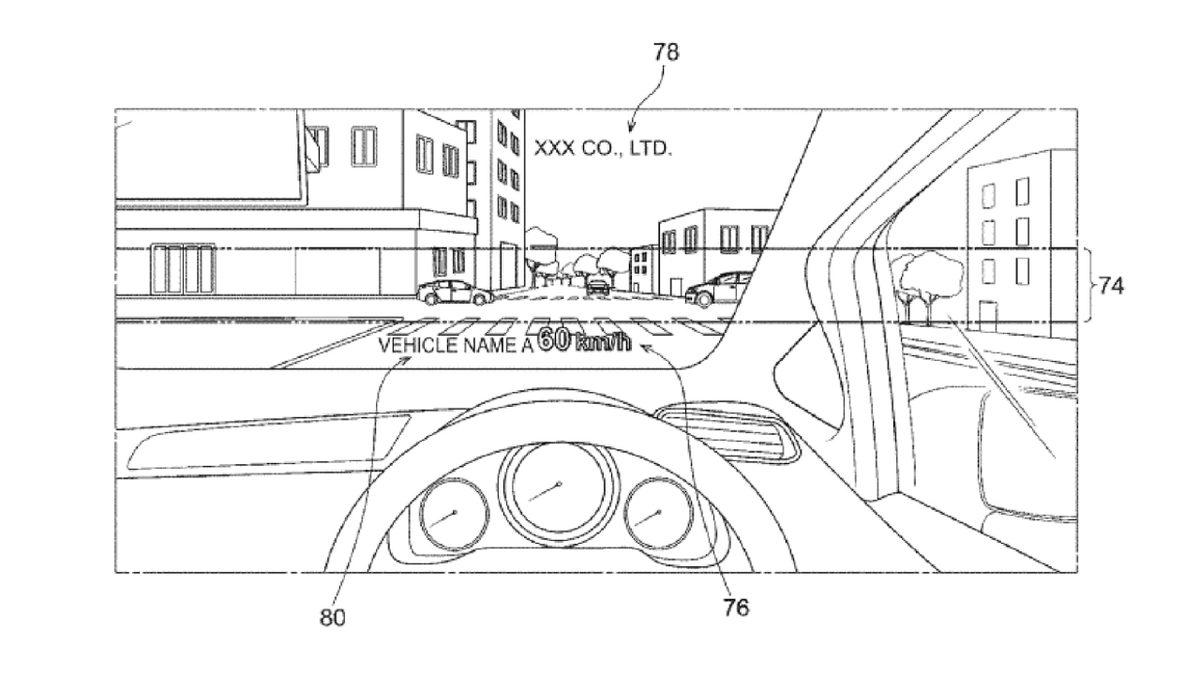
Patent, başlığın kameralar, hoparlörler, kulaklıklar gibi şeyleri içerebileceğini de söylüyor. Kameraların göz hareketlerini izlerken araçtaki kameralarla birlikte çalışarak etrafta neler olduğunu takip edebileceği belirtiliyor. Öte yandan AR gözlüğü, sürücüye önemli bilgileri de sağlayacak. Bunlar, yol işaretlerini ve hız sınırlarını direkt gösterebilme, yayaları ve bisikletleri algılayabilme gibi şeyler olabilir. Hem ses hem de görüntüyle bu bilgiler gösterilebilir.
Bilgi görüntüleme konusunda sağlanabilecek özelliklerin bir sınırı yok. Park yeri bulmadan navigasyona kadar birçok alanda bilgileri gözlükten görmek mümkün olabilir. Ayrıca Gözlük, muhtemelen telefon veya araçtaki medya bilgilerini de gösterecektir. Bu da bazı potansiyel sorunlara yol açabilir.
Başlığın ne kadar güvenli olduğu önemli bir soru işareti

Bir mesaj geldiğinde onu okumaya çalışmak, bir kazaya neden olabilir. Ya da kulaklıklar veya hoparlörler, dışarıdan gelen sesleri duymayı zorlaştırarak istenmeyen sonuçların oluşmasını sağlayabilir. Toyota eğer gerçekten bu teknolojiyi geliştirirse, olası sorunları çözmenin yollarını bulmak zorunda. Aynı şekilde sürücülerin de çok daha dikkatli olması gerekecek. Tabii bu ne kadar olur bilemeyiz.
Son olarak gözlüğün nasıl bir boyutta olacağı da merak konusu. Patent görsellerine baktığımızda, günümüzdeki çoğu gözlükteki ağır ve büyük bir tasarımla karşılaşmayacağımızı görüyoruz. Toyota, geleneksel gözlüklere benzeyen muhtemelen hafif ve sürücüyü rahatsız etmeyecek bir başlıkla karşımıza çıkacağa benziyor.
Toyota’nın artırılmış gerçeklik gözlüğünü gerçekten üretip üretmeyeceği belli değil. Bu tarz patentler her zaman gerçek hayatta karşımıza çıkmayabiliyor. Ancak, son zamanlarda otomobil devlerinden bu konuda gelen hamleler, ürünün üretilebilme ihtimalini güçlendiriyor. Örneğin Chevrolet, yakın zamanda artırılmış gerçeklik destekli bir ön cam ekranı için patent başvurusu yapmıştı. BMW de anyı şekilde AR adımları atmaya hazırlanıyordu.


