Katlanabilir akıllı telefon piyasasını sahiplenen ilk markalardan biri Samsung olmuş, Güney Kore merkezli şirket birçok farklı katlanabilir akıllı telefon modellerini kullanıcıya sunmaya başlamıştı. Diğer markalar da bu piyasaya yavaş yavaş katılım göstermeye başladı ancak en büyük hamle uzun zamandır Apple'dan bekleniyordu. Yeni yapılan açıklamalara göre teknoloji devi, katlanabilir iPhone ile bu pazara katılmak için kolları sıvadı.
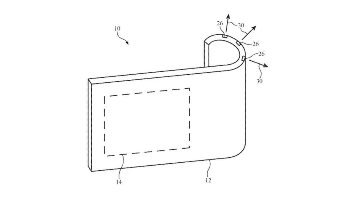
Apple, ABD Patent ve Ticari Marka Ofisi'ne (USPTO) yeni katlanabilir akıllı telefon modelleri başvuruda bulundu. Katlanabilir Elektronik Aygıtlar için Kamera Sistemleri patentine başvuran marka, açıklamalara göre Foxconn ile birlikte iki farklı katlanabilir iPhone üzerinde çalışmalara başladı.
Apple’dan iki yeni model geliyor

Yapılan açıklamalara göre üzerinde çalıştıkları bir model kalite kontrol aşamalarını çoktan geçti. Yeni tasarımın Samsung Galaxy Z Fold 2’ye benzeyeceği açıklandı. Yeni katlanabilir iPhone, piyasadaki benzer ürünler gibi katlanabilecek ve açıldığı zaman bir iPad’e dönüşecek.
Markanın üzerinde yoğunlaştığı diğer modelin ise Motorola Razr ve Samsung Galaxy Z Flip 5G modellerine benzeyeceğine dair söylentiler var. Bu model, geniş bir ekrana sahip iPhone’u kullanıcının cebine sığdırabilmek için tasarlanıyor. Bu sebeple de bu modelin kapaklı bir telefon olacağı, tıpkı eski günlerde olduğu gibi kapak kapandıktan sonra aramanın sonlandırılabileceği konuşuluyor.

Apple, patent başvurusunda detaylı olarak şu bilgilere yer verdi; "Elektronik cihaz, esnek kumaş, polimer ya da diğer esnek malzemelerden oluşturulmuş bir kasaya sahip olabilir. Bu kasa, kamera entegre edilebilecek şekilde olmalıdır. Kasa, içe ve dışa doğru bükülebilir ve bu sayede panoramik ve 360 derecelik görüntüleri yakalayabilir.”

