ABD merkezli teknoloji devi Apple, ABD Patent ve Marka Ofisi'nden aldığı bir patentle kafaları karıştırdı. Apple'ın aldığı patent, şirketin yeni bir kablosuz kulaklık üzerinde çalıştığını gözler önüne seriyor. Buraya kadar her şey olağan olsa da patentlenen kablosuz kulaklık, sektörde büyük bir savaş başlatacakmış gibi görünüyor.
Apple'ın aldığı patent, şirketin kemikten ses iletimi yapan bir kablosuz kulaklık üzerinde çalıştığını gösteriyor. Bu kablosuz kulaklığın yaklaşmakta olan AirPods 3 mü olduğu yoksa farklı bir model mi olduğu şu an için bilinmiyor ancak Apple, görünüşe göre kablosuz kulaklık sektöründe yeni bir sayfa açmaya hazırlanıyor. Bu kablosuz kulaklığın ne zaman gün yüzüne çıkacağını tahmin etmekse ne yazık ki mümkün değil.
İçerikten Görseller
Apple'ın ABD'de aldığı patent

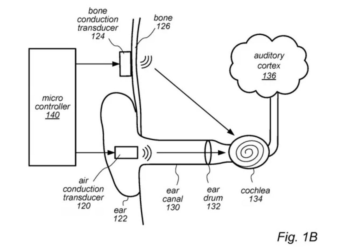
Kemikten ses iletme teknolojisi, bir süredir var olan ancak bazı sorunlar nedeniyle bir türlü yaygınlaşamayan bir teknoloji. Apple ise bu teknolojiyi kendine göre yorumlayarak ortaya bir ürün çıkaracak gibi görünüyor. Çünkü alınan patent, Apple'ın birden fazla ses aktarım modülü bulunan bir kulaklık üzerinde çalıştığını gösteriyor. Birden fazla ses aktarım modülü, kullanıcıların daha net ve daha yüksek seviyede ses almalarını sağlayacak gibi görünüyor.
Apple'ın üzerinde çalıştığı kablosuz kulaklık eğer bir ürün haline gelirse kullanıcılar, ortam sesini duyarken müzik dinleme imkanı yakalayacaklar. Ayrıca bu tür kulaklıklar sayesinde su altında bile kesintisiz müzik dinlemek mümkün olabilir. Ancak Apple'ın aldığı patent, bu gizemli kablosuz kulaklığın tüm detaylarını ne yazık ki paylaşmıyor. Şu an için elimizde olan en önemli bilgi, Apple'ın kemikten ses iletim teknolojisine sahip olan bir kablosuz kulaklık geliştirdiği.
ABD merkezli teknoloji devinin, eylül ayı içerisinde bir etkinlik düzenlemesi ve bu etkinlik kapsamında da iPhone 12 serisini tanıtması bekleniyor. Deneyimli bir Apple analisti olan Ming-Chi Kuo, bu etkinlik kapsamında yeni bir AirPods'un duyurulmayacağını, kullanıcıların 2021 yılının başına kadar beklemeleri gerektiğini ifade ediyor. Eğer bu açıklamalar gerçeği yansıtıyorsa Apple, 2021 yılında kemikten ses iletebilen bir kablosuz kulaklıkla karşımıza çıkabilir.
