Katlanabilir telefonların geçici bir tasarım değişikliği mi yoksa mobil cihazların geleceği mi olduğu henüz bilinmiyor ancak Apple'ın bu tip cihazlarla ilgilendiği kesin. Yeni ortaya çıkan bir patentte Apple, katlanabilir akıllı telefonların karşı karşıya kaldığı en önemli sorunlardan birine çözüm üretiyor.
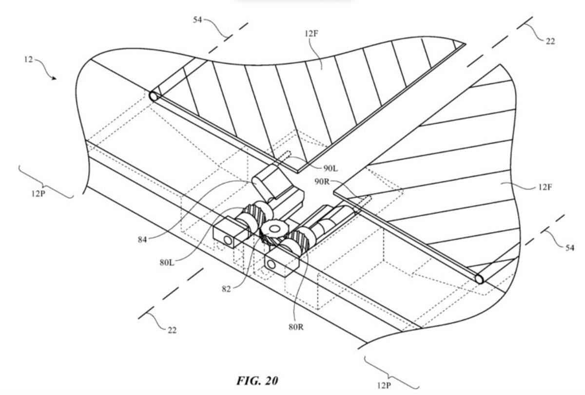
Bahsi geçen sorun, katlanabilir cihazın katlanma esnasında buruşması. İlk katlanabilir cihazlar, örneğin Galaxy Fold, Samsung'un başını bu nedenle bir hayli ağrıtmıştı. Apple mühendislerinin bu soruna buldukları çözüm, hareketli kanatlara sahip özel bir menteşe mekanizması.
İçerikten Görseller
Samsung'un yaşadığı sorunlar ortadan kalkacak:

Fikir, temel olarak cihaz açıldığında boşluğu dolduracak şekilde genişleyen hareket edebilir kanatları içeriyor. Aynı kanatlar, cihaz kapatıldığında geri çekilecek. Apple, bu sayede Samsung'un katlanabilir cihazlarda yaşadığı talihsiz sorunlardan kurtulmayı planlıyor.
Geçen sene ilk katlanabilir cihazını piyasaya sürmek için acele eden Samsung, Galaxy Fold'la ilgili çok sayıda olumsuz değerlendirme almasının ardından cihazın çıkış tarihini ertelemişti. Erteleme süresi içerisinde cihazı yenileyen Samsung'un buna rağmen çok sağlıklı sonuçlar elde etmediği belirtiliyor. Samsung, Galaxy Fold'un nasıl kullanılması gerektiğine ilişkin bir video da yayınladı ve katlanabilir ekranın çok hassas olduğunu ve yalnızca yumuşak dokunuşlarla kullanılması gerektiğini belirtti.
Apple'ın bir süredir katlanabilir telefon konusunda girişimlerde bulunduğu biliniyor. Apple'ın çok sayıda patent almış olmasına rağmen henüz katlanabilir bir iPhone'un piyasaya çıkacağına dair resmi bir bilgi yok.

Apple'ın otomobil üreteceğine dair söylentiler de bir süredir etrafta dolaşıyor. Apple tarafından alınan yeni patent, Apple'ın sürücüsüz aracına dair yeni bir teknolojiyi gözler önüne seriyor. Yeni teknoloji, sürücüsüz araca sesli komut vermenizi sağlıyor. Yeni teknolojiyle araca nereye gideceğini söylüyorsunuz ve geri kalanını otomobil sizin yerinize yapıyor.
