Silikon Vadisi devi Apple, akıllı telefon serisi iPhone'larına yenilikler getirme arayışında. iPhone X'dan beri pek bir değişim göremediğimiz Apple'ın akıllı telefonları önümüzdeki seneler içerisinde büyük bir tasarımsal değişime uğrayabilir zira Apple'ın katlanabilir akıllı telefon modelini içeren yeni bir patenti bugün ortaya çıktı.

Her hafta başka bir akıllı telefon üreticisinin -Xiaomi, Huawei, LG, Lenovo, Motorola, Samsung- katlanabilir akıllı telefon üzerinde çalıştığını duyar hâle geldik. Sıranın Apple'a gelip gelmeyeceği, gelecekse ne zaman bunun ortaya çıkacağını da bekler olduk. Apple'dan da nihayet yeni bir adım geldi.

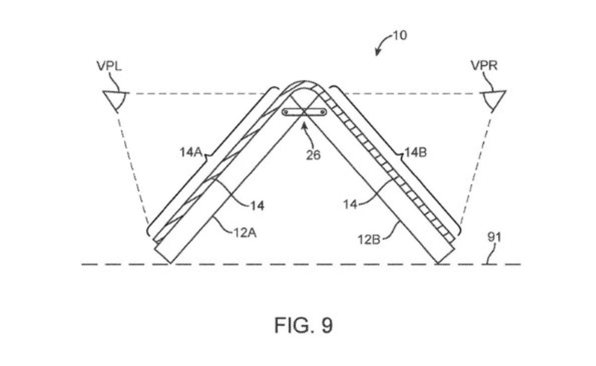
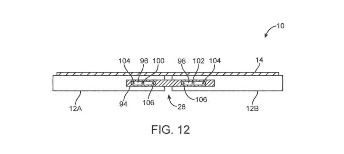
Apple'ın ilk olarak 2011 yılında yaptığı katlanabilir iPhone patenti başvurusu 2016 yılında esnek ekranlı bir iPhone içeriğiyle tazelenmişti. Perşembe günü Apple tarafından güncellenen patenti özel kılan şey, Samsung'un 20 Şubat Çarşamba tarihinde gerçekleştireceği Unpacked Etkinliği'nde aylardır konuştuğumuz Infinity-O ekrana sahip S serisinin 10. üyesi Galaxy S10'un yanında, yeni katlanabilir akıllı telefonu Galaxy F'i tanıtacak olması.

Geçtiğimiz haftalarda Türkiye'deki ürünlerinin fiyatlarını düşüreceğini açıklayan Apple'ın katlanabilir akıllı telefon patenti almak için neden bu tarihi seçtiği bilinmiyor ancak Samsung'un Galaxy F akıllı telefonuyla alakası olabileceği ve önümüzdeki 2-3 yıl içerisinde Apple tarafında da bir katlanabilir iPhone görebileceğimizi düşünüyoruz.
