Günümüzde hem sivil hem de askeri kullanım için drone ve İHA teknolojisine önemli yatırımlar yapılıyor. Türkiye de özellikle düzenlediği operasyonlarda kullandığı İHA'lar (İnsansız Hava Aracı), sahip oldukları etkiyle dünyanın dikkatini çekmişti.
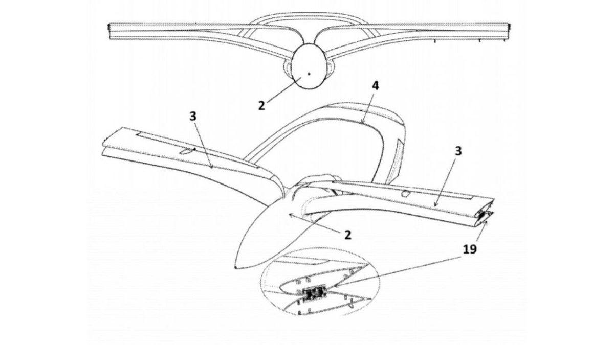
ASELSAN'ın 21 Ocak 2021 tarihinde aldığı "Çok Fonksiyonlu İnsansız Hava Aracı" patenti de bu noktada dikkatleri topladı. Patentte yer alan tasarımda İHA'nın kanat altında bulunan podlar sayesinde araç, VTOL ve VSTOL gibi yetenekler kazanıyor.
Dikey iniş kalkış yeteneği

ASELSAN'ın tasarladığı araç, hem helikopter gibi döner kanatlı hava araçlarının sahip olduğu rotorlar hem de bazı sabit kanatlı hava araçları gibi arka kısmında bir motor bulunduracak. Aracın kanatlarının altında bulunan 4X2 coaxial counter rotating mimarisindeki rotor podları sayesinde İHA dikey olarak iniş kalkış da yapabiliyor.
ASELSAN'ın yeni insansız hava aracı, sahip olduğu özellikler sayesinde dikey veya kısa pistlerden iniş / kalkış (VSTOL), konvansiyonel iniş / kalkış (CTOL) ve dikey iniş / kalkış (VTOL) gibi beceriler gösterebiliyor. Aracın ihtiyaç duyduğu enerji de içten yanmalı geleneksel içten yanmalı tahrik sistemi veya elektrik tahrik sistemi ile donatılabiliyor. Bataryalı konfigürasyonun sessiz uçuş avantajı da bulunuyor.
Özellikle deniz platformlarında kullanılacak

ASELSAN'ın geliştirdiği bu İHA'nın özellikle deniz platformları için geliştirildiği yönünde tahminler var. Şu anda Baykar Savunma da TCG ANADOLU Amfibi Hücum Gemisi için kısa pistlerden kalkış/iniş yapabilecek Bayraktar TB3 İHA, geliştirme çalışmalarına devam ediyor. Firma ayrıca Dikey İniş Kalkışlı İnsansız Hava Aracı (DİHA) adında bir proje üzerinde de çalışıyor.
Türkiye'de insansız hava araçları için yapılan yatırımlar devam ediyor. Türk firmalarının elde ettiği başarılar da elbette göğsümüzü kabartıyor.


