Apple, üzerinde çalıştığı ilk katlanabilir iPhone modeli için yeni bir teknoloji üzerinde çalışıyor. Şirketin almış olduğu yeni bir patent, telefonların menteşe noktaları boyunca katlanabilen ve gerektiğinde genişleyebilen ekran tasarımlarına sahip olacağını gösteriyor.
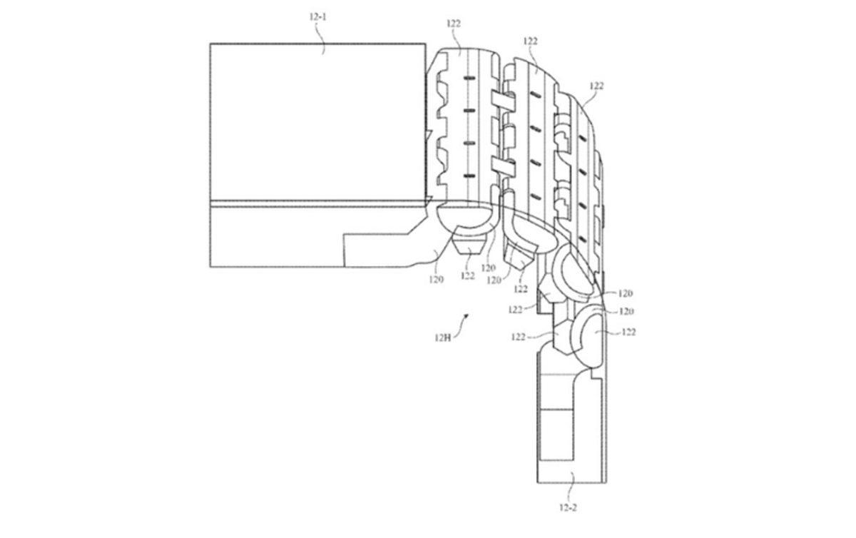
Yeni patentte birden fazla mafsal eklemine sahip yenilikçi menteşe yapısı yer alıyor. Çizimler, ilk katlanabilir iPhone'un dik açıyla bükülebileceğini gösteriyor.
Katlanabilen ve gerektiğinden 'genişleyebilen' ekrana sahip olacak

Yeni menteşe tasarımı, katlama sırasında ekranın aşırı gerilmesini önleyecek şekilde tasarlanmış. Ayrıca menteşe yapısının ekran kalınlığı içinde gizlenebileceği ve ekranı daha kompakt bir hâle getirebileceği belirtiliyor.
Apple’ın bu teknolojiyi yalnızca katlanabilir iPhone ile sınırlamayacağı da iddialar arasında. Patent, katlanabilir ekranın akıllı telefonların yanı sıra bileklikler, dizüstü bilgisayarlar, akıllı gözlükler ve hatta araç içi sistemler gibi birçok farklı ürün gamında kullanılabileceğini belirtiyor.
Apple patentler söz konusu olduğunda sıklıkla patent başvurusunda bulunduğundan, bu patentin de nihai bir ürüne dönüşeceğinin garantisi olmadığını belirtelim.

