Geçtiğimiz günlerde Samsung’la ilgili bomba gibi bir iddia ortaya atılmıştı. Akıllı telefonlar hakkında sızıntılar yapan bir kaynak, Twitter hesabı üzerinden Samsung’un Galaxy A serisine uygun fiyatlı ve katlanabilir akıllı telefon ekleyeceğini iddia etmişti. Bugün ortaya çıkan iddialarda ise Samsung’un Z serisine yeni bir üye ekleyeceği konuşuluyor.
Yaklaşık 1 ay önce ise Güney Koreli teknoloji devinin kayırılabilir yani kullanıcı, telefondaki ilgili bölümü çektiği zaman telefonun **ekranının büyüdüğü **bir ürün üzerinde çalıştığı ve bunun patentini aldığı ortaya çıkmıştı. Bugün ortaya çıkan iddialara göre ise Samsung yeni bir patent daha aldı.
Samsung katlanır telefon dünyasına yeni bir boyut kazandırabilir

İddialara ve patente göre Samsung, katlanabilir telefon serisine bambaşka bir görünüm kazandırabilir. Görüntülerde şirketin, açılıp kapanan yani yana doğru genişleyen bir ekrana sahip telefon sunmaya hazırlandığı gözüküyor. Üç görüntü Samsung’un katlanabilir telefon dünyasındaki yerini sağlamlaştırmaya çalıştığını ve bu konudaki çalışmalarını hızlandırdığını gösteriyor.
Yukarıda yer alan ilk patent görüntüsü dikey olarak uzanan bir ekranın tam olarak boyutları ve neye benzediğini gösteriyor. İkinci görüntüde ise yana doğru açılan bir ekran tasarımı yer alıyor. Ekranın yatay olarak genişletilebilir olması hem video izlerken hem de oyun oynarken daha büyük bir ekranı kullanabileceğimizin bir göstergesi olabilir.

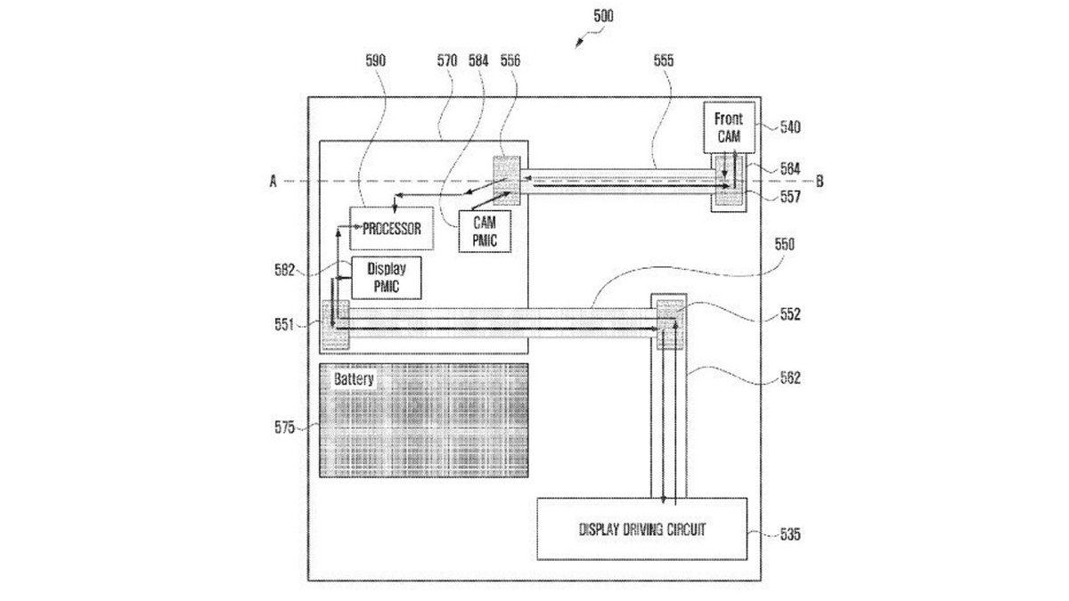
Üçüncü ve son görüntüde ise yine yana doğru uzayabilen bir ekranın görüntüsü yer alıyor. Bu görüntüde daha çok yana doğru açılan telefonun kameralarının nasıl kullanılabileceği gösteriliyor. Aynı zamanda bu görüntü telefonun hangi sistemle yana doğru uzadığı ve bataryası hakkında da biraz fikir sahibi olmamızı sağlıyor.

Samsung Türkiye, Televizyon Kutularını Gündelik Ev Eşyalarına Dönüştürdüğü Özel Tasarım Sergisi Açtı
Samsung ve diğer büyük şirketlerin sürekli olarak yeni ürünler için tasarımlar aldıklarını görüyoruz. Bu patentlerin bazıları hayata geçirilirken bazıları sadece görüntü olarak kalıyor. Ortaya çıkan bu patentin Z serisinin yeni üyesi olup olmayacağı ise henüz bilinmiyor.
