Drone'ları ile tanınan şirket DJI, gelecekte biraz daha farklı bir alan sayesinde adından bahsettirebilir. Daha karasal bir alan sayesinde...
Drone'lardan farkı karadan gitmeleri olan uzaktan kumandalı kameralı arabalar, DJI şirketinin iki yeni patentinde görüldü. Şirket bu konuda bir açıklama yapmış olmasa da gelecekte bu arabaların üretimine başlayabilir.
İçerikten Görseller
Kameralı drone'lar başlıca iki amaç için kullanılır: gözetleme ve yapım amaçlı video çekim. Bu hava araçları bir arazideki değişiklikleri gözlemlemek, hasar ya da bir bölgedeki yasadışı oluşumları tespit etmek ve bir bölgenin özelliklerini incelemekte mükemmel iş çıkarıyorlar. Aynı zamanda içerik üretiminde de kullanılan bu araçlarla yukarıdan eşsiz görüntüler elde etmek de mümkün. Büyün bu artıların yanında drone'ların bir de eksisi var: bölge sınırlamaları ve kuralları.
Uzaktan kumandalı kameralı arabaların avantajı ne?

Uzaktan kumandalı kameralı arabalar, hava ihlallerine yol açmadan sabitlenmiş bir kamera ile karasal sınırlar içerisinde gezinerek kayıt almayı sağlayan araçlardır. Drone'ların sahip olduğu mesafe sınırından çok daha yüksek bir sınıra sahip olan bu araçlar, bir kara parçasının üzerinde özgürce dolaşabilir. Sahibin özel mülkiyetinde kullanımı için tercih edilebilecek uzaktan kumandalı kameralı arabalar aynı zamanda kara yolunu tercih ediyor olmalarından dolayı insanların gizlilik konusundaki endişelerini de azaltabilir.
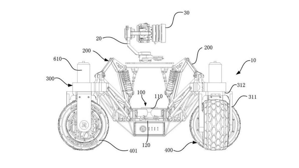
DJI şirketinin Çin'de bulunan 2 patentinde uzaktan kumandalı kameralı araba tasarımlarına yer verilmiş. Patentte bulunan araba, 360 derece dönebilen dayanıklı tekerlekleriyle zorlu arazilerde takılmadan rahatlıkla hareket etmeyi sağlayacak gibi görünüyor. Patentteki araç, aynı zamanda yukarı doğru uzatılabilen bir kameraya sahip. Böylece zorlu arazilerde ilerlerken gerektiğinde daha geniş açılarla video kaydı alınabilecek. Tabii eğer aracın üretimi gerçekleşirse.
Tasarımda gözlemlenebilenler dışında patentte birkaç ayrıntıya daha yer verilmiş. DJI şirketinin konuyla ilgili bir açıklaması yok, ancak patentin varlığı gelecekte uzaktan kumandalı kameralı araba üretimine geçileceğinin habercisi olabilir.
