Apple, bugüne kadar piyasaya sürdüğü dizüstü bilgisayar, akıllı telefon ve diğer tüm ürünlerinde her zaman kalite ve tasarımı bir araya getiren bir anlayışı izledi. Şirket, bunu kullanıcılarına sunabilmek için neredeyse her ürününde alüminyum kullandı. Ancak görünüşe göre Apple, şu an kullandığı alüminyumun yerine ürünlerinde gelecekte daha güçlü bir materyal barındıracak.
Geçtiğimiz zamanlarda ortaya çıkan birkaç Apple patentinde şirketin farklı farklı materyaller üzerinde çalışmalar yaptığını görmüştük. Bu materyaller arasında metal iplikli dokuma kumaş da yer alıyordu. Bugün ortaya çıkan başka bir patentse Apple’ın titanyum kullanacağına işaret ediyor.
İçerikten Görseller
Apple, titanyumda mat görüntü yaratmanın yolunu buldu:

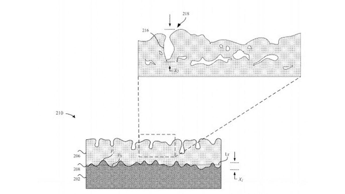
Amerika Birleşik Devletleri Patent ve Ticari Marka Ofisi’nde ortaya çıkan bir patente göre Apple, titanyum yüzeylerde mat bir görünüm yaratmanın yolunu buldu. Patentte yer alan bilgiler, dokulu bir yüzeye sahip titanyum yüzeye sahip elektronik cihazların muhafaza edilişine dair bilgiler veriyor.
Patentte yer alan bilgilerde yer alan ‘elektronik cihazlar’ ifadesinden elbette asıl bahsedilen cihazların ne olduklarını tahmin edebiliyoruz. Öyle görünüyor ki Apple, gelecekte çıkaracağı iMac, iMac Pro, iPad, iPhone, MacBook Air, MacBook Pro, Mac Mini ve hatta Apple Watch ürünlerinde titanyum kullanmaya başlayacak.

Apple’ın saydığımız tüm ürünlerinde ve gelecekte çıkaracağı olası diğer ürünlerinde titanyumu kullanmasıyla bu ürünlerin dayanıklılığı ve sertliği de artış yaşayacaktır. Böylelikle cihazların içerisinde bulunan elektronik bileşenler çok daha iyi bir şekilde korunacaktır.
Tüm bu artıların yanı sıra şirketin bu ürünlerde alüminyum yerine titanyum kullanması, ürünlerin üretim maliyetlerini de bir hayli artıracaktır. Dolayısıyla Apple’ın ürünlerinin hepsinin değil de yalnızca en üst düzey olanlarının titanyumla yapıldığını görebiliriz. Tabii gördüğümüz belge bir patent olduğundan şirketin hiçbir zaman titanyuma yer vermemesini de bekleyebiliriz.
