Teknoloji devleri, neredeyse her gün çıkarttıkları yeni teknolojik aletlerle bizleri şaşırtmaya devam ediyor. Teknoloji dünyasının en büyük isimlerinden biri olan Apple, ilerleyen zamanlarda katlanabilir ekranlı Macbook çıkartmayı planladıklarını açıklamıştı. Ayrıca 3 yeni Mac modelinin daha yolda olduğu duyuruldu.
Bununla birlikte bazı söylentilere göre, teknoloji devi şirket birçoğumuza “Nasıl ya?” dedirtecek yeni bir proje için çalışmalara başladı. Apple’ın üzerinde çalıştığı yeni ürününün, içinde bilgisayar barındıran bir ‘klavye’ olacağı söyleniyor.
MacBoard mı geliyor?

Eğer gerçekleşirse, teknoloji dünyasında bir devrim yaratabilecek olan bu yeni projeye göre klavyeler artık birer bilgisayara dönüşecek. Masaüstü Mac bilgisayarlara benzer bir sistemin, klavyenin içine yerleştirileceği projenin çok fazla ses getireceği düşünülüyor. Apple mühendisleri, projenin patentini almış durumda ve ileride bu klavyelerin masaüstü bilgisayar kullanıcılarının çokça tercih ettiği bir ürün olmasını bekliyorlar.
Bir masaüstü bilgisayardaki tüm o parçaları klavyenin içine sığdırabilecek boyutta nasıl yapacaklarını merakla bekliyoruz. Bu yeni ‘klavye bilgisayar’ belki de Apple’ın ürettiği diğer bilgisayarlardan daha uygun bir fiyata satışa sunulabilir, sonuçta satın aldığımız ürün -içinde her ne kadar bilgisayar barındırıyor olsa da- sadece bir klavye. Tabii yine de bu düşüncelere kapılıp fazla da ümitlenmemek lazım. Şu hatırlatmayı da yapmak da fayda var Apple’ın patentini aldığı birçok ilginç ürünü hiçbir zaman piyasaya sürmedi. Umuyoruz ki bizleri heyecanlandıran bu yeni ürün de onlardan biri olmaz.
Merak edenler için klavyenin patent çizimleri şu şekilde:

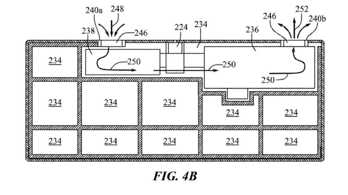
Bu resim her ne kadar birçoğumuzun halihazırda kullandığı klavyelerimizden çok farklı şey olacakmış hissi vermese de, en alt tabanına baktığınızda klavyenin içerisinin tıpkı bir evin odaları gibi bölümlere ayrıldığını görebilirsiniz. Apple mühendislerinin bilgsayar parçalarını, bu küçücük odacıklara sığacak boyutta ve düzende yerleştirdiklerini görmek heyecan verici olacak.

Yukarıda gördüğünüz resimde, klavyenin soğutma sisteminin işleyişi gösteriliyor. Fan beslemeli olacak bu soğutma sistemi, klavyenin arka tarafında yer alacak ve işlemcinin ısısını kontrol altında tutmak için termal bir tabandan oluşacak.

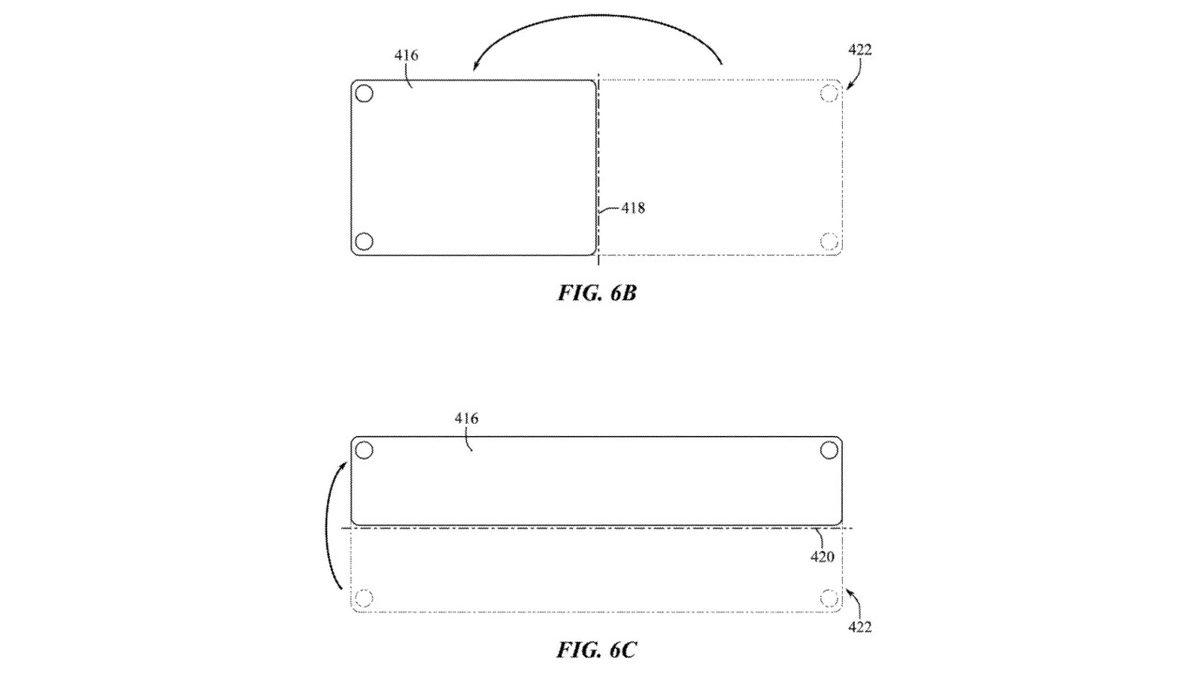
Apple, gerçekten de bu patent konusunda epey yaratıcı bir iş ortaya çıkartmış. Patentin sonlarına doğru yer alan bu resimde klavyenin tıpkı bir kağıt gibi açılıp kapanabildiğini görüyorsunuz.

