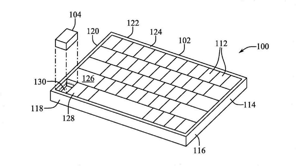
Apple, MacBook klavyelerinde oldukça ilginç bir tasarıma imza atıyor. Şirketin aldığı yeni patente göre, klavyedeki bir tuş çıkarılıp küçük bir fare olarak kullanılabilecek. MacBook’larda hem tuş hem fare işlevi gören özel bir tuş karşımıza çıkacak.
Apple’ın “Deployable Key Mouse” adını verdiği bu sistem, klavyedeki sıradan bir tuşun yerinden çıkarılıp minik bir fareye dönüşmesi mantığına dayanıyor. Üzerinde konum algılayıcı bulunan bu tuş, masa üzerinde hareket ettirilerek imleç kontrolü yapılmasına imkan tanıyacak.
İçerikten Görseller
Apple’ın çıkarılabilir minik fare tasarımı ortaya çıktı

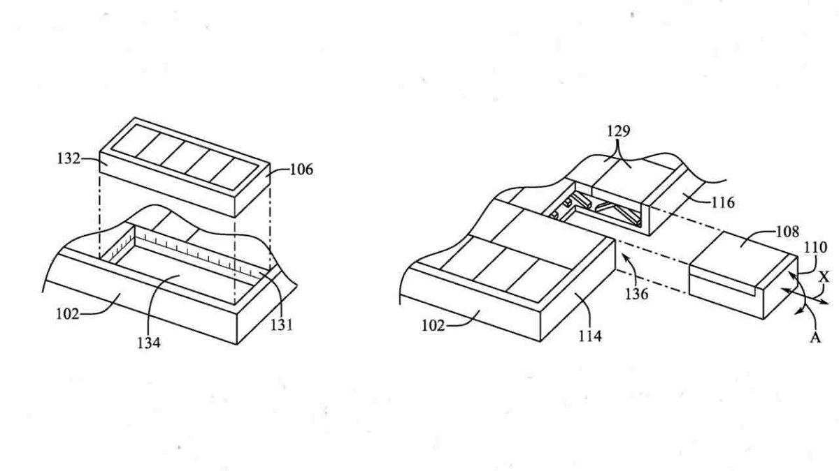
Cihazın boyutu ise geleneksel farelere kıyasla oldukça küçük olacak. Patent detaylarına göre bu çıkarılabilir fare, kendi pil ve devre yapısına sahip olacak. Kullanılmadığı zaman yerine takılarak normal bir klavye tuşu gibi işlev görecek. Apple’ın amacı, taşınabilir cihazlarda trackpad’e ek olarak hassas bir imleç kontrol seçeneği sunmak.

Apple’ın patentte belirttiğine göre cihaz, ek bir fare taşımak istemeyen kullanıcılar için alternatif bir çözüm sunmayı hedefliyor. Ancak cihazın küçük boyutu ve kullanım ergonomisi, kullanıcı deneyimi açısından nasıl sonuç vereceği konusunda şimdilik belirsizliğini koruyor.


