Elon Musk’ın göz bebeği Tesla, sıklıkla yeni kazalar ve kullanıcılarının yaptığı çılgınlıklarla gündeme geliyor. Geçtiğimiz günlerde bir Tesla kullanıcısı aracını modifiye etmesiyle, başka bir kullanıcı ise aracını perte çıkartmasıyla gündem olmuştu.
Bu defa bir çılgınlık da Tesla’dan geldi. Dünyanın en iyi elektrikli araçlar üreticilerinden biri olarak adını sıkça duyduğumuz Tesla bu defa da duyunca “Bunu nasıl yaptınız?” diyeceğiniz bir teknolojiyle geliyor. Gelin, bu hepimizi şanşkınlığa uğratan teknolojiye yakından bakalım.
İçerikten Görseller
Tesla araçları Star Wars’a çevirecek ‘lazerli cam silecekleri’ geliyor

Biraz önce de dediğimiz gibi, Tesla kullanıcıları sıklıkla çılgın aktivitelerle gündeme gelse de Tesla da bu konuda kullanıcılarından pek de farklı değil. Araçlarında kullandığı pek çok teknolojiyle sektöre öncülük etse de camları silmek için lazer teknolojisi kullanılmasını Tesla'dan bile beklemiyorduk. Evet, Tesla araçlarında lazerli cam silecekleri kullanmaya hazırlanıyor. Camlara takılacak yeni ‘lazer cam silecekleri’ ile sürücülerin görüşlerini kısıtlayacak her şeyin daha kolay bir şekilde temizlenmesi hedefleniyor.
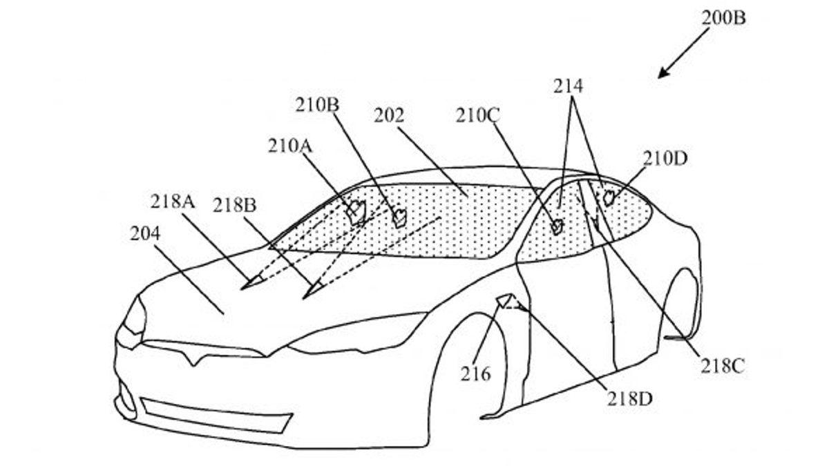
ABD Patent Ofisi’nden alınan patentle kullanıcıların sürüş keyfi başka bir boyuta taşınacak gibi görünüyor. Tesla, bu teknoloji için 2019’un Mayıs ayında patent başvurusunda bulunmuş ve 2021 yılının sonlarında başvurusu kabul edilmişti. Şimdi ise bu başvuru ABD Patent Ofisi tarafından duyurularak resmi bir hale getirildi. İlerleyen günlerde Tesla araçlarda karşımıza çıkacak bu yeni teknoloojinin patent şemasını yukarıdaki resimde görebilirsiniz. Tesla araçları, gözlerinden lazer çıkartan birer Superman'e dönüştürecek bu yeni teknolojisini ise beş adımda özetliyor:
- Aracın camları üzerinde biriken kalıntılar tespit edilir.
- Cam üzerindeki kalıntılar, ışın optik tertibatından yayılan lazer ışını ile ilişkili bir dizi parametreyi kalibre eder.
- Lazer ışını ile parametre setinin kalibre olmasının ardından cam üzerindeki kalıntının lazere maruz kalma seviyesi hesaplanır.
- Lazer ışını ile cam yüzeyindeki tespit edilen kalıntıyı gidermek için bölgeye ışınlar gönderilerek kalıntılar temizlenir.
- Kullanıcılar bu lazerli cam sileceklerini dokunmatik ekran, joystick veya başka bir silecek iletişim paneli üzerinden manuel olarak kullanabiliyor.
