Apple'ın aylardır heyecanla beklenen karma gerçeklik gözlüğü Vision Pro, 19 Ocak'ta ön siparişe açılacak ve 2 Şubat'ta ise ABD'de tüm Apple mağazalarında satışa çıkacak.
Gelen son haberler ise Apple'ın Vision Pro ile ilgili çalışmalarında farklı kollarda da devam ettiğini gösteriyor. Patently Apple tarafından paylaşılan bilgilere göre Apple, başta Vision Pro'ya işaret eden ''kafaya takılan bir cihaz'' olmak üzere pek çok cihazla kullanılabilecek bir kalem için patent aldı.
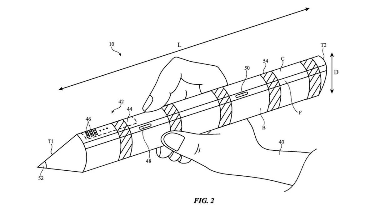
Apple Pencil gibi ama daha büyük

Tasarımın Apple Pencil'a oldukça benziyor ama daha büyük olacağı düşünülüyor. Ayrıca yalnızca yazma ve çizme gibi işlemler için kullanılabilecek bir kalemden ziyade 'kontrol kumandası' gibi bir çalışma mantığı var. Bu da akıllara Meta Quest gibi sanal gerçeklik gözlüklerinin kumandalarını getiriyor.
Ayrıca cihazın Vision Pro gibi bir karma gerçeklik gözlüğü ile kullanılırken fırça ya da kalem vb. gibi farklı görüntülerde görünebileceği belirtiliyor. Yani diyelim ki Vision Pro taktınız ve bu kalemi kullanacaksınız, o an ne için kullandığınıza göre değişecek farklı şekillerde görebileceksiniz.
Ancak tabii ki bu yalnızca bir patent ve Apple'ın böyle bir ürünü üretip üretmeyeceğini şu an için bilemiyoruz. Yine de Vision Pro için de kullanılabilir kumanda benzeri bir cihaz kulağa oldukça mantıklı geliyor.

